Kirjaudu
Kirjaudu sisään
Nakkilan pyörä ja mopo
Tuotekategoriat
Etusivu
Varaosaluettelot
Tarvikkeet
Varusteet
Tarjoukset
Ajoneuvot
Huolto
Yhteydenotto
Varaosa luettelot
Aprilia
1000 cc
RSV 1000 Tuono 2002-2005
Runko I
Runko II
Runko III
Jalkatapit
Seisontatuki
Ohjausakseli
Etuhaarukka I
Etuhaarukka II
Takahaarukka
Takahaarukan linkku, takaiskunvaimennin
Etuosa, etukate
Etuosa, etulokasuoja
Front body - Lockups
Keskiosa, ylemmät katteet
Polttoainetankki
Polttoaine järjestelmä
Istuin
Takaosa, takakate
Satulan kiinnitys
Takalokasuoja
Mittaristo
Ohjaintanko
Kytkinpuristin
Etujarrun pääsylinteri
Jäähdytysjärjestelmä
Jäähdyttimet
Paisuntasäiliö
Öljysäiliö
Ilmansuodatin
Polttoainepumppu I
Polttoainepumppu II
Racing 2003 polttoainepumppu
Moottori, polkimet
Pakoputkisto I
ST-RS versio etupyörä
R-RF versio etupyörä
ST-RS vers.Etujarru sylinteri
R-RF vers. front brake caliper
ST-RS versio takapyörä
R-RF versio takapyörä
Takajarrun pääsylinteri
Takajarrun sylinteri
Etulyhty
Turn indicators
Takalyhty
Etummainen sähköjärjestelmä
Keskimmäinen sähköjärjestelmä
Taaempi sähköjärjestelmä
Lukkosarja, työkalut
Tarrat, käyttöohjekirjat ja tietokilvet
Moottorin lohkot I
Moottorin lohkot II
Öljypumppu
Kampiakseli I
Kampiakseli II
Venttiilikannet
Sylinterin kannet ja venttiilit
Venttiilin säätölevyt
Etusylinterin jakoketju, nokka-akselit
Takasylinterin jakoketju
Vaihteisto, valitsin
Vaihteisto
Kytkin I
Kytkin II
Vesipumppu
Sähköosat
Läppärunko
Tiivisteet, tiivisteliimat, voiteluaineet
Tuning tuotteet
Tuning tuotteet II
Erikoiskatteet
Tuning teho-osat I
Tuning teho-osat II
Tuning teho-osat III
Tuning teho-osat IV
Lisävarusteet
Lisävaruste lukot
Varaosat tuoteryhmittäin
Tarvikkeet
Tarjoukset
Varusteet
Ajoneuvot
NÄYTÄ TUOTEKATEGORIAT
NPM.FI
Varaosa luettelot
Aprilia
1000 cc
RSV 1000 Tuono 2002-2005
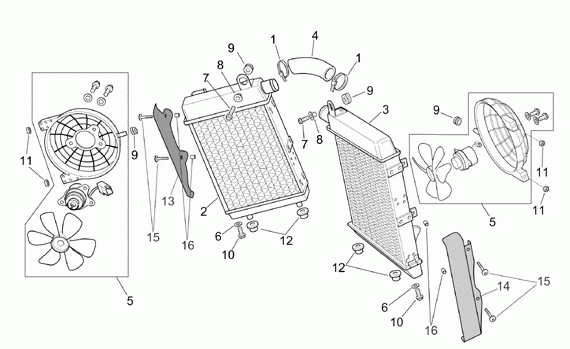
Jäähdyttimet
Jäähdyttimet, RSV 1000 Tuono 2002-2005, 1000 cc, Aprilia-varaosa luettelot
Näytä suurempana
Nro
#1
Tuotenumero
AP8104097
Nimike
HOSE CLAMP
Hinta
5,25 €
Määrä
+
-
Nro
#2
Tuotenumero
AP8102952
Nimike
JÄÄHDYTIN OIKEA RSV1000R
Hinta
369,40 €
Määrä
+
-
Nro
#3
Tuotenumero
AP8102951
Nimike
JÄÄHDYTIN VASEN RSV1000R
Hinta
369,40 €
Määrä
+
-
Nro
#4
Tuotenumero
AP8120981
Nimike
JÄÄHD. VÄLIPUTKI RSV MILLE
Hinta
28,75 €
Määrä
+
-
Nro
#5
Tuotenumero
AP8124855
Nimike
TUULETIN TÄYD. RSV 03
Hinta
390,95 €
Määrä
+
-
Nro
#6
Tuotenumero
AP8152184
Nimike
ALUSLEVY 6.4X12X1.6 KIRKAS
Hinta
2,05 €
Lisätiedot
Määrä
+
-
Korvaavat tuotteet
Nro
#
Tuotenumero
AP8150178
Nimike
ALUSLEVY 6.4X12.5X1.6 MUSTA
Hinta
2,05 €
Määrä
+
-
Nro
#7
Tuotenumero
AP8152279
Nimike
RUUVI M6X20 LAIPPAKANTA 10MM
Hinta
2,70 €
Määrä
+
-
Nro
#8
Tuotenumero
AP8221023
Nimike
T BUSH *
Hinta
3,15 €
Määrä
+
-
Nro
#11
Tuotenumero
AP8150026
Nimike
MUTTERI M6
Hinta
1,75 €
Määrä
+
-
Nro
#12
Tuotenumero
AP8101372
Nimike
KUMIHOLKKI
Hinta
3,25 €
Määrä
+
-
Nro
#13
Tuotenumero
AP8168067
Nimike
PROTEZIONE RADIATORE DX
Hinta
114,10 €
Määrä
+
-
Nro
#13
Tuotenumero
AP8168224
Nimike
JÄÄHD. PEITELEVY OIKEA TUONO
Hinta
77,45 €
Määrä
+
-
Nro
#13
Tuotenumero
AP8168804
Nimike
RH WATER COOLER PROTECTION. C.
Hinta
116,35 €
Lisätiedot
Määrä
+
-
Korvaavat tuotteet
Nro
#
Tuotenumero
AP8179032
Nimike
PROTEZIONE RADIATORE DX CARB.
Hinta
186,50 €
Määrä
+
-
Nro
#13
Tuotenumero
AP8179032
Nimike
PROTEZIONE RADIATORE DX CARB.
Hinta
186,50 €
Lisätiedot
Määrä
+
-
Korvaavat tuotteet
Nro
#
Tuotenumero
AP8168804
Nimike
RH WATER COOLER PROTECTION. C.
Hinta
116,35 €
Määrä
+
-
Nro
#14
Tuotenumero
AP8168068
Nimike
PROTEZIONE RADIATORE SX
Hinta
120,80 €
Määrä
+
-
Nro
#14
Tuotenumero
AP8168225
Nimike
JÄÄHD. SUOJA VASEN
Hinta
77,45 €
Määrä
+
-
Nro
#14
Tuotenumero
AP8168805
Nimike
LH WATER COOLER PROTECTION. C.
Hinta
120,40 €
Lisätiedot
Määrä
+
-
Korvaavat tuotteet
Nro
#
Tuotenumero
AP8179033
Nimike
PROTEZIONE RADIATORE SX CARB.
Hinta
163,35 €
Määrä
+
-
Nro
#14
Tuotenumero
AP8179033
Nimike
PROTEZIONE RADIATORE SX CARB.
Hinta
163,35 €
Lisätiedot
Määrä
+
-
Korvaavat tuotteet
Nro
#
Tuotenumero
AP8168805
Nimike
LH WATER COOLER PROTECTION. C.
Hinta
120,40 €
Määrä
+
-
Nro
#15
Tuotenumero
AP8152422
Nimike
RUUVI M6X25 TCCCE
Hinta
12,95 €
Määrä
+
-
Nro
#16
Tuotenumero
AP8152436
Nimike
BUSSOLA DE=12 DI=6.5 L=11
Hinta
10,50 €
Määrä
+
-