Kirjaudu
Kirjaudu sisään
Nakkilan pyörä ja mopo
Tuotekategoriat
Etusivu
Varaosaluettelot
Tarvikkeet
Varusteet
Tarjoukset
Ajoneuvot
Huolto
Yhteydenotto
Varaosa luettelot
Suzuki
1100 cc
GSX 1100 X 1981 *
01-Venttiilikoppa
02-Sylinterikansi, imukurkut
03-Sylinteriryhmä, alatiiviste
04-Moottorilohkot
05-Moottorinposket, oik.+vas.
06-öljynsuodatin, öljypohja
07-Kampikoneisto, männät
08-Starttikytkin
09-Nokka-akselit, venttiilikoneisto
10-Nokka-ketju, -kiristin, -laahaimet
11-Kaasuttimet
12-Ilmansuodatinkotelo, -suodatin
13-Pakoputkisto
14-Kytkin
15-Vaihteisto
16-Vaihteensiirto
17-Käynnistinmoottori
18-Vaihtipyörän alakäämi
19-CDI, sytytys
20-Akku, akkukotelo
21-Mittaristo
22-Etulyhty
23-Suuntavalot, -rele
24-Takalyhty
25-Sytytyspuolat, lataussäädin
26-Johtosarja, virtalukko
27-Runko
28-Runko
29-Takajarrupoljin, seisontatuet
30-Jalkatapit, -kannakkeet
31-Polttoainesäiliö-merkit
32-Polttoainesäiliö-merkit
33-Polttoainehana, pa-määräntunnistin
34-Polttoainehana, pa-määräntunnistin
35-Istuin, tavarateline
36-Takakate
37-Takakate
38-Sivuposket, -merkit
39-Sivuposket, -merkit
40-Etujousitus
41-Etujousitus
42-Etujousitus
43-Etujousitus
44-Ohjauspylväs ohjauslaakerit, ohjauslukko
45-Ohjauspylväs ohjauslaakerit, ohjauslukko
46-Etulokasuoja, etulyhdyn koppa
47-Etupyörä etujarrulevy, nop.mitt pyörijä
48-Etupyörä etujarrulevy, nop.mitt pyörijä
49-Ohjaustanko, vaijerit, peilit
50-Oik.ohj.tangon katkaisin, jarruvipu, kaasukahva
51-Vas.ohj.tangon katkaisin, kytkinvipu, kahvarunko
52-Etujarrusatula, -kannake
53-Etujarrusylinteri
54-Etujarruletkut
55-Takahaarukka
56-Takahaarukka
57-Ketjunsuoja, takaiskunvaimentimet
58-Takalokasuoja
59-Takalokasuojan jatke
60-Takapyörä, takajarrulevy, takaratas
61-Takapyörä, takajarrulevy, takaratas
62-Takajarrusatula
63-Takajarrusylinteri, -säiliö
64-Takajarrusylinteri, -säiliö
65-Takajarruletku
66-Tiivisteet, tiivisteliimat
Varaosat tuoteryhmittäin
Tarvikkeet
Tarjoukset
Varusteet
Ajoneuvot
NÄYTÄ TUOTEKATEGORIAT
NPM.FI
Varaosa luettelot
Suzuki
1100 cc
GSX 1100 X 1981 *
50-Oik.ohj.tangon katkaisin, jarruvipu, kaasukahva
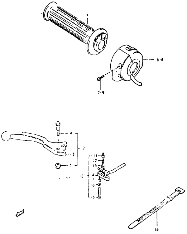
50-Oik.ohj.tangon katkaisin, jarruvipu, kaasukahva, GSX 1100 X 1981 *, 1100 cc, Suzuki-varaosa luettelot
Näytä suurempana
Nro
#1
Tuotenumero
57110-44011-000
Nimike
GRIP,THROTTLE
Hinta
39,85 €
Määrä
+
-
Nro
#2
Tuotenumero
57420-49101-000
Nimike
ETUJARRUVIPU (57300-49100-000)
Hinta
36,40 €
Lisätiedot
Määrä
+
-
Korvaavat tuotteet
Nro
#
Tuotenumero
E33170492
Nimike
JARRUVIPU SUZUKI GN 250 85- 9
Hinta
16,65 €
Määrä
+
-
Nro
#3
Tuotenumero
57420-49101-000
Nimike
ETUJARRUVIPU (57300-49100-000)
Hinta
36,40 €
Lisätiedot
Määrä
+
-
Korvaavat tuotteet
Nro
#
Tuotenumero
E33170492
Nimike
JARRUVIPU SUZUKI GN 250 85- 9
Hinta
16,65 €
Määrä
+
-
Nro
#4
Tuotenumero
57431-18621-000
Nimike
BOLT,LEVER PIVOT
Hinta
10,95 €
Lisätiedot
Määrä
+
-
Korvaavat tuotteet
Nro
#
Tuotenumero
57431-25310-000
Nimike
BOLT,LEVER PIVOT
Hinta
6,95 €
Määrä
+
-
Nro
#5
Tuotenumero
08319-2106A-000
Nimike
NUT VZR1800/K6
Hinta
2,55 €
Lisätiedot
Määrä
+
-
Korvaavat tuotteet
Nro
#
Tuotenumero
08319-21065-000
Nimike
MUTTERI
Hinta
2,50 €
Määrä
+
-
Nro
#
Tuotenumero
08319-21068-000
Nimike
MUTTERI
Hinta
2,50 €
Määrä
+
-
Nro
#7
Tuotenumero
09125-05102-000
Nimike
SCREW 5X14
Hinta
2,90 €
Määrä
+
-
Nro
#10
Tuotenumero
57460-45500-000
Nimike
JARRUVALOKYTKIN ETUJARRUUN
Hinta
49,00 €
Lisätiedot
Määrä
+
-
Korvaavat tuotteet
Nro
#
Tuotenumero
57460-49300-000
Nimike
SWITCH ASSY,STOP
Hinta
35,55 €
Määrä
+
-
Nro
#18
Tuotenumero
09407-12402-000
Nimike
CLAMP
Hinta
3,45 €
Määrä
+
-