NÄYTÄ TUOTEKATEGORIAT

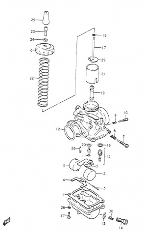
TS 125 K/L/M/A/B 1973-1977, 125 cc, Suzuki-varaosa luettelot

K=1973, M=1974, L=1975, A=1976, B=1977

Luettelossa virheitä, korjaus kesken.