Kirjaudu
Kirjaudu sisään
Nakkilan pyörä ja mopo
Tuotekategoriat
Etusivu
Varaosaluettelot
Tarvikkeet
Varusteet
Tarjoukset
Ajoneuvot
Huolto
Yhteydenotto
Varaosa luettelot
Yamaha
50 cc Muut mallit
DT 50 R vm 2010
0T-Tiivisteet
01-Sylinteri, kansi
02-Kampiakseli
03-Vesipumppu
04-Jäähdytin
05-Öljypumppu
06-Ilmansuodatin
07-Kaasutin
08-Pakoputki
09-Lohkot
10-Sivukopat
11-Käynnistin
12-Kytkin
13-Vaihteisto
14-Vaihteensiirto
15-Vaihdepolkimen osat
16-Runko
17-Lokarit
18-Sivupaneelit
19-Tankki
20-Takahaarukka
21-Takaiskari
22-Etujousitus
23-Ilmanohjaimet , tankki
24-Istuin
25-Etupyörä
26-Etupyörä 17
27-Jarru
28-Etujarru
29-Takapyörä
30-Takapyörä 17
31-Takajarru
32-Ohjaintanko
33-Etujarrupuristin
34-Jalkatapit
35Takajarru puristin
36-Mangneetto
37-Vilkut
38-Mittaristo
39-Etuvalo
40-takavalo
41-Katkaisin, kytkinkahva
42-Johtosarja
Varaosat tuoteryhmittäin
Tarvikkeet
Tarjoukset
Varusteet
Ajoneuvot
NÄYTÄ TUOTEKATEGORIAT
NPM.FI
Varaosa luettelot
Yamaha
50 cc Muut mallit
DT 50 R vm 2010
06-Ilmansuodatin
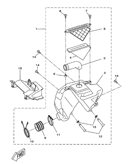
06-Ilmansuodatin, DT 50 R vm 2010, 50 cc Muut mallit, Yamaha -varaosa luettelot
Näytä suurempana
Nro
#2
Tuotenumero
1D4E44110000
Nimike
KTS UUSI NRO 1D4E44111000
Hinta
188,40 €
Lisätiedot
Määrä
+
-
Korvaavat tuotteet
Nro
#
Tuotenumero
1D4E44111000
Nimike
CASE,AIRCLEANER1
Hinta
188,40 €
Määrä
+
-
Nro
#5
Tuotenumero
1D4E44720000
Nimike
PLATE,ELEMENT
Hinta
14,20 €
Määrä
+
-
Nro
#6
Tuotenumero
1D4E44420000
Nimike
SPACER
Hinta
6,55 €
Lisätiedot
Määrä
+
-
Korvaavat tuotteet
Nro
#
Tuotenumero
1D4E44421000
Nimike
KTS UUSI NRO 1D4E44420000
Hinta
6,55 €
Määrä
+
-
Nro
#8
Tuotenumero
13CE26230000
Nimike
BOLT
Hinta
2,15 €
Lisätiedot
Määrä
+
-
Korvaavat tuotteet
Nro
#
Tuotenumero
1D4E26230000
Nimike
KTS UUSI NRO 13CE26230000
Hinta
2,15 €
Määrä
+
-
Nro
#10
Tuotenumero
1D4E44240000
Nimike
CLIP,CAPFITTING
Hinta
10,60 €
Määrä
+
-
Nro
#11
Tuotenumero
1D4E44550000
Nimike
BAND
Hinta
4,05 €
Määrä
+
-
Nro
#12
Tuotenumero
1D4E44190000
Nimike
PIPE
Hinta
3,30 €
Määrä
+
-
Nro
#14
Tuotenumero
13DF41760000
Nimike
BOLT 1
Hinta
1,05 €
Määrä
+
-