Kirjaudu
Kirjaudu sisään
Nakkilan pyörä ja mopo
Tuotekategoriat
Etusivu
Varaosaluettelot
Tarvikkeet
Varusteet
Tarjoukset
Ajoneuvot
Huolto
Yhteydenotto
Varaosa luettelot
Suzuki
1100 cc
GSX 1100F R 1994
01-Venttiilikoppa
02-Sylinterin kansi
03-Sylinteri
04-Lohkot
05-Sivukopat
06-Öljypohja
07-Öljypumppu
08Kampiakseli
09-Starttikytkin
10-Nokka-akselit
11-Nokkaketju
12-Kaasuttimet
13-Ilmansuodin
14-Pakoputkisto
15-Pakoputkisto
16-Öljynlauhdutin
17-Toisioilma
18-Kytkin
19-Vaihteisto
20-Vaihteensiirto
21-Starttimoottori
22-Laturi
23-Sytytsyksikkö
24-Akku
25-Sähköjärjestelmä
26-Nopeusmittari
27-Etuvalo
28-Etuvalo
29-Vilkut
30-Takavalo
31-Johtosarja
32-Johtosarja
33-Runko
34-Tukijalka
35-Jalkatapit
36-Tankki
37-Tankki
38-Tankki
39-Tankki
40-Tankki
41-Hana
42-Istuin
43-Istuimen takakoppa
44-Istuimen takakoppa
45-Istuimen takakoppa
46-Istuimen takakoppa
47-Istuimen takakoppa
48-Käsikahva
49-Sivupaneelit
50-Sivupaneelit
51-Sivupaneelit
52-Sivupaneelit
53-Sivupaneelit
54-Etujousitus
55-Etujousitus
56-Haarukan kolmiot
57-Etulokari
58-Etupyörä
59-Ohjaintanko
60-Ohjaintanko
61-Katkaisimet
62-Katkaisimet
63-Etujarru
64-Etujarru
65-Etujarru
66-Etujarru letku
67-Jarrusylinteri
68-Jarrusylinteri
69-Kytkin sylinteri
70-Kytkinneste letku
71-Takahaarukka
72-Takaiskari
73-Takaiskari
74-Jousituksen linkut
75-Takalokari
76-Takapyörä
77-Takajarru
78-Takajarru
79-Takajarrun sylinteri
80-Kate
81-Kate
82-Kate
83-Kate
84-Kate
85-Kate
86-Kate
87-Kate
88-Kate
89-Kate
90-Kate
91-Erikoisosat
92-Tarvikkeet
Varaosat tuoteryhmittäin
Tarvikkeet
Tarjoukset
Varusteet
Ajoneuvot
NÄYTÄ TUOTEKATEGORIAT
NPM.FI
Varaosa luettelot
Suzuki
1100 cc
GSX 1100F R 1994
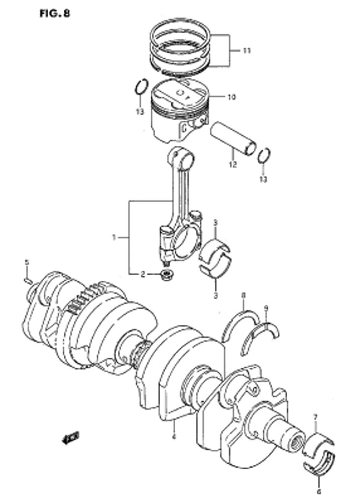
08Kampiakseli
08Kampiakseli, GSX 1100F R 1994, 1100 cc, Suzuki-varaosa luettelot
Näytä suurempana
Nro
#1
Tuotenumero
12160-40C01-000
Nimike
ROD ASSY,CONNECTING
Hinta
168,15 €
Määrä
+
-
Nro
#1
Tuotenumero
12160-40C02-000
Nimike
12160-40C02-000
Hinta
0,00 €
Määrä
+
-
Nro
#1
Tuotenumero
12160-48B01-000
Nimike
CONROD ASSY
Hinta
195,95 €
Määrä
+
-
Nro
#2
Tuotenumero
09159-09001-000
Nimike
NUT 9MM
Hinta
5,65 €
Määrä
+
-
Nro
#3
Tuotenumero
12164-46E01-0C0
Nimike
LAAKERILIUSKA RUSKEA
Hinta
23,55 €
Lisätiedot
Määrä
+
-
Korvaavat tuotteet
Nro
#
Tuotenumero
12164-06B00-0C0
Nimike
KTS: 12164-46E01-0C0
Hinta
17,75 €
Määrä
+
-
Nro
#3
Tuotenumero
12164-46E01-0A0
Nimike
LAAKERILIUSKA VIHREÄ
Hinta
23,55 €
Määrä
+
-
Nro
#3
Tuotenumero
12164-46E01-0B0
Nimike
LAAKERILIUSKA MUSTA
Hinta
23,55 €
Määrä
+
-
Nro
#3
Tuotenumero
12164-46E01-0D0
Nimike
LAAKERILIUSKA KELTAINEN
Hinta
23,70 €
Määrä
+
-
Nro
#4
Tuotenumero
12000-48810-000
Nimike
12000-48810-000
Hinta
0,00 €
Määrä
+
-
Nro
#4
Tuotenumero
12220-48B04-000
Nimike
12220-48B04-000
Hinta
0,00 €
Määrä
+
-
Nro
#4
Tuotenumero
12220-48B11-000
Nimike
12220-48B11-000
Hinta
0,00 €
Määrä
+
-
Nro
#5
Tuotenumero
04221-04089-000
Nimike
RULLA TAPPI
Hinta
1,70 €
Määrä
+
-
Nro
#6
Tuotenumero
12229-06B00-0A0
Nimike
LAAKERILIUSKA GREEN
Hinta
19,75 €
Määrä
+
-
Nro
#6
Tuotenumero
12229-06B00-0B0
Nimike
RK-LAAKERIL. ALEMPI BLACK
Hinta
19,75 €
Määrä
+
-
Nro
#6
Tuotenumero
12229-06B00-0C0
Nimike
RK-LAAKERIL. ALEMPI BROWN
Hinta
19,75 €
Määrä
+
-
Nro
#6
Tuotenumero
12229-06B00-0D0
Nimike
LAAKERILIUSKA YELLOW
Hinta
19,75 €
Määrä
+
-
Nro
#7
Tuotenumero
12229-06B10-0A0
Nimike
LAAKERILIUSKA (-45410-010 )
Hinta
19,75 €
Lisätiedot
Määrä
+
-
Korvaavat tuotteet
Nro
#
Tuotenumero
12229-45410-010
Nimike
NUMERO : 12229-06B10-0A0
Hinta
9,40 €
Määrä
+
-
Nro
#7
Tuotenumero
12229-06B10-0B0
Nimike
RK-LAAKERIL. YLEMPI BLACK
Hinta
19,75 €
Lisätiedot
Määrä
+
-
Korvaavat tuotteet
Nro
#
Tuotenumero
12229-09311-0B0
Nimike
UUSI NUMERO = 12229-06B10-0B0
Hinta
9,40 €
Määrä
+
-
Nro
#7
Tuotenumero
12229-06B10-0C0
Nimike
RK-LAAKERIL. YLEMPI BROWN
Hinta
19,75 €
Määrä
+
-
Nro
#7
Tuotenumero
12229-06B10-0D0
Nimike
LAAKERILIUSKA YELLOW
Hinta
19,75 €
Määrä
+
-
Nro
#8
Tuotenumero
12228-48B00-0E0
Nimike
PLATE,CRANK THRUST (GREEN)
Hinta
12,10 €
Määrä
+
-
Nro
#9
Tuotenumero
12228-48B00-0A0
Nimike
PLATE,CRANK THRUST (PINK)
Hinta
9,85 €
Määrä
+
-
Nro
#9
Tuotenumero
12228-48B00-0B0
Nimike
PLATE,CRANK THRUST (BROWN)
Hinta
12,10 €
Määrä
+
-
Nro
#9
Tuotenumero
12228-48B00-0C0
Nimike
BEARING,CRANK GSF1200
Hinta
10,95 €
Määrä
+
-
Nro
#9
Tuotenumero
12228-48B00-0D0
Nimike
PLATE,CRANK THRUST (YELLOW)
Hinta
12,10 €
Määrä
+
-
Nro
#9
Tuotenumero
12228-48B00-0E0
Nimike
PLATE,CRANK THRUST (GREEN)
Hinta
12,10 €
Määrä
+
-
Nro
#9
Tuotenumero
12228-48B00-0F0
Nimike
PLATE,CRANK THRUST (BLUE)
Hinta
12,10 €
Määrä
+
-
Nro
#9
Tuotenumero
12228-48B00-0G0
Nimike
PLATE,CRANK THRUST (ORANGE)
Hinta
12,10 €
Määrä
+
-
Nro
#9
Tuotenumero
12228-48B00-0H0
Nimike
BEARING,CRANK GSF1200
Hinta
12,10 €
Määrä
+
-
Nro
#10
Tuotenumero
12111-48B04-050
Nimike
12111-48B04-050
Hinta
0,00 €
Määrä
+
-
Nro
#10
Tuotenumero
12111-48B04-0F0
Nimike
PISTON
Hinta
116,70 €
Määrä
+
-
Nro
#10
Tuotenumero
12111-48B04-100
Nimike
PISTON
Hinta
97,05 €
Määrä
+
-
Nro
#11
Tuotenumero
12140-48B20-000
Nimike
MÄNNÄNRENGASSARJA GSX 1100 F
Hinta
170,60 €
Määrä
+
-
Nro
#11
Tuotenumero
12140-48B20-050
Nimike
RING SET,PISTON,OS:0.5
Hinta
91,45 €
Määrä
+
-
Nro
#11
Tuotenumero
12140-48B20-100
Nimike
RING SET,PISTON,OS:1.0
Hinta
91,45 €
Määrä
+
-
Nro
#12
Tuotenumero
12151-05A00-000
Nimike
MÄNNÄNTAPPI 1100 R
Hinta
22,65 €
Määrä
+
-
Nro
#13
Tuotenumero
09381-20004-00
Nimike
09381-20004-00
Hinta
0,00 €
Määrä
+
-