Kirjaudu
Kirjaudu sisään
Nakkilan pyörä ja mopo
Tuotekategoriat
Etusivu
Varaosaluettelot
Tarvikkeet
Varusteet
Tarjoukset
Ajoneuvot
Huolto
Yhteydenotto
Varaosa luettelot
Yamaha moottorikelkat
1000 cc
RX1 2003 8FA2
1-Sylinteri
2-Kampiakseli, männät
3-Venttiilit
4-Nokka-akselit, ketju
5-Vesipumppu
6-Jäähdytin putkisto
7-Öljypumppu
8-Öljynsuodin
9-Imusarja
10-Kaasuttimet
11-Pakoputkisto
12-Lohkot
13-Moottori kotelo
14-Starttikytkin
15-Ykkös variaattori
16-Vetoakseli
17-Moottorin kiinitys
18-Öljysäiliö
19-Runko
21-Suksi, etujousitus
22-Ohjausakseli
23-Eturunko
24-Tankki
25-Istuin
26-Jarru
27-Vaijerit, kahvakumit
28-Telasto
29-Telaston jousitus
31-Vetoakseli
32-Ensiövedon kotelo
34-Etukate
35-Merkit
36-Tuulilasi
37-Työkalukotelo
38-Paneelin kiinikkeet
39-Yläpaneeli
40-Laturi
41-Starttimoottori
42-Mittaristo
43-Etuvalo
44-Takavalo
45-Katkaisimet
46-Sähköosat
47-Akku
48-Heijastimet
49-Peilit
50-Takajousitus
51-Vaihteistokotelo
52-Kytkin
53-Ensiöketju
54-Kytkin
55-Kytkin
Varaosat tuoteryhmittäin
Tarvikkeet
Tarjoukset
Varusteet
Ajoneuvot
Vaihteensiirto
Kampikammio
Kampikammion pultit
Moottorin kopat
Ãljypohja
Kaasu
Polttoainepumppu
Polttoaineen ruiskutus
Ãljypumppu
Laturi
SytytysjÀrjestelmÀ
Starttimoottori
JÀÀhdytin
JÀÀhdytysletkut
Runko
Moottorin kiinnitys
Rungon kiinnikkeet
Takahaarukka
Jousitus
Jalkatapit
Lokasuojat
Lokasuojat
Seisontatuki
Renkaat
EtupyörÀn napa
TakapyörÀn napa
Jarrupoljin
Brake Piping
Etujarrun pÀÀsylinteri
Etujarru
Takajarrun pÀÀsylinteri
Takajarru
Ohjaustanko
Etujousitus
PolttoainesÀiliö
Satula
Satula
Mittaristo
Vaijerit
Sivukatteet
Ajovalo
Takavalo
Vilkut
SÀhköjÀrjestelmÀ
Virtalukko
Työkalut
Tarrat
Tarrat
Tarrat
Tarrat
Tarrat
Tarrat
Tarrat
Tarrat
Etukate
Etukate
Etukate
Etukate
Etukate
Alakatteet
Manual
Sylinterikansi
Venttiili koppa
Sylinteri / mÀntÀ
Ilmanpuhdistin
Pakoputkisto
Venttiilit
Nokka-akseli
Kampiakseli
Balancer
Kytkin
Vaihteisto
Vaihderumpu
Vaihteensiirto
Kampikammio
Kampikammion pultit
Moottorin kopat
Ãljypohja
Kaasu
Polttoainepumppu
Polttoaineen ruiskutus
Ãljypumppu
Laturi
SytytysjÀrjestelmÀ
Starttimoottori
JÀÀhdytin
JÀÀhdytysletkut
Runko
Moottorin kiinnitys
Rungon kiinnikkeet
Takahaarukka
Jousitus
Jalkatapit
Lokasuojat
Lokasuojat
Seisontatuki
Renkaat
EtupyörÀn napa
TakapyörÀn napa
Jarrupoljin
Brake Piping
Etujarrun pÀÀsylinteri
Etujarru
Takajarrun pÀÀsylinteri
Takajarru
Ohjaustanko
Etujousitus
PolttoainesÀiliö
Satula
Mittaristo
Vaijerit
Sivukatteet
Ajovalo
Takavalo
Vilkut
SÀhköjÀrjestelmÀ
Virtalukko
Työkalut
Tarrat
Tarrat
Tarrat
Tarrat
Etukate
Etukate
Alakatteet
Manual
Sylinterikansi
Venttiili koppa
Cylinder / Piston(S)
Ilmanpuhdistin
Muffler(S)
Valve(S)
Camshaft(S) / Tensioner
Kampiakseli
Balancer
Clutch(Gef'-Gff)
Clutch(Ggf)
Vaihteisto
Vaihteisto
Gear Change Drum / Shift Fork(S)
Vaihteensiirto
Kampikammio
Kampikammion pultit
Engine Cover(S)
Ãljypohja
Kaasu
Polttoainepumppu
Polttoaineen ruiskutus
Ãljypumppu
Laturi
SytytysjÀrjestelmÀ
Starttimoottori
JÀÀhdytin
JÀÀhdytysletkut
Runko
Moottorin kiinnitys
Rungon kiinnikkeet
Takahaarukka
Jousitus
Jalkatapit
Front Fender(S)
Rear Fender(S)
Stand(S)
Renkaat
EtupyörÀn napa
TakapyörÀn napa
Jarrupoljin
Brake Piping
Etujarrun pÀÀsylinteri
Etujarru
Takajarrun pÀÀsylinteri
Takajarru
Ohjaustanko
Etujousitus
PolttoainesÀiliö
Satula
Meter(S)
Vaijerit
Sivukatteet
Headlight(S)
Taillight(S)
Vilkut
SÀhköjÀrjestelmÀ
Virtalukko
Owner
Tarrat
Tarrat
Tarrat
Tarrat
Tarrat
Tarrat
Tarrat
Etukate
Etukate
Etukate
Etukate
Alakatteet
Accessory(Engine Slider)
Accessory(Shroud Slider)
Accessory(Meter Cover)
Manual
Sylinterikansi
Venttiili koppa
Cylinder / Piston(S)
Ilmanpuhdistin
Muffler(S)
Valve(S)
Camshaft(S) / Tensioner
Kampiakseli
Balancer
Clutch(Gef'-Gff)
Clutch(Ggf)
Vaihteisto
Vaihteisto
Gear Change Drum / Shift Fork(S)
Vaihteensiirto
Kampikammio
Kampikammion pultit
Engine Cover(S)
Ãljypohja
Kaasu
Polttoainepumppu
Polttoaineen ruiskutus
Ãljypumppu
Laturi
SytytysjÀrjestelmÀ
Starttimoottori
JÀÀhdytin
JÀÀhdytysletkut
Runko
Moottorin kiinnitys
Rungon kiinnikkeet
Takahaarukka
Jousitus
Jalkatapit
Front Fender(S)
Rear Fender(S)
Stand(S)
Renkaat
EtupyörÀn napa
TakapyörÀn napa
Jarrupoljin
Brake Piping
Etujarrun pÀÀsylinteri
Etujarru
Takajarrun pÀÀsylinteri
Takajarru
Ohjaustanko
Etujousitus
PolttoainesÀiliö
Satula
Meter(S)
Vaijerit
Sivukatteet
Headlight(S)
Taillight(S)
Vilkut
SÀhköjÀrjestelmÀ
Virtalukko
Owner
Tarrat
Tarrat
Tarrat
Tarrat
Tarrat
Tarrat
Tarrat
Etukate
Etukate
Etukate
Etukate
Alakatteet
Accessory(Engine Slider)
Accessory(Shroud Slider)
Accessory(Meter Cover)
Manual
Sylinterikansi
Venttiili koppa
Cylinder / Piston(S)
Ilmanpuhdistin
Muffler(S)
Valve(S)
Camshaft(S) / Tensioner
Kampiakseli
Balancer
Clutch(Gef'-Gff)
Clutch(Ggf)
Vaihteisto
Vaihteisto
Gear Change Drum / Shift Fork(S)
Vaihteensiirto
Kampikammio
Kampikammion pultit
Engine Cover(S)
Ãljypohja
Kaasu
Polttoainepumppu
Polttoaineen ruiskutus
Ãljypumppu
Laturi
SytytysjÀrjestelmÀ
Starttimoottori
JÀÀhdytin
JÀÀhdytysletkut
Runko
Moottorin kiinnitys
Rungon kiinnikkeet
Takahaarukka
Jousitus
Jalkatapit
Front Fender(S)
Rear Fender(S)
Stand(S)
Renkaat
EtupyörÀn napa
TakapyörÀn napa
Jarrupoljin
Brake Piping
Etujarrun pÀÀsylinteri
Etujarru
Takajarrun pÀÀsylinteri
Takajarru
Ohjaustanko
Etujousitus
PolttoainesÀiliö
Satula
Meter(S)
Vaijerit
Sivukatteet
Headlight(S)
Taillight(S)
Vilkut
SÀhköjÀrjestelmÀ
Virtalukko
Owner
Tarrat
Tarrat
Tarrat
Tarrat
Tarrat
Tarrat
Tarrat
Etukate
Etukate
Etukate
Etukate
Alakatteet
Accessory(Engine Slider)
Accessory(Shroud Slider)
Accessory(Meter Cover)
Manual
Sylinterikansi
Venttiili koppa
Sylinteri / mÀntÀ
Ilmanpuhdistin
Pakoputkisto
Venttiilit
Nokka-akseli
Kampiakseli
Balancer
Kytkin
Vaihteisto
Vaihderumpu
Vaihteensiirto
Kampikammio
Kampikammion pultit
Moottorin kopat
Ãljypohja
Kaasu
Polttoainepumppu
Polttoaineen ruiskutus
Fuel Evaporative System
Ãljypumppu
Laturi
SytytysjÀrjestelmÀ
Starttimoottori
JÀÀhdytin
JÀÀhdytysletkut
Runko
Moottorin kiinnitys
Rungon kiinnikkeet
Takahaarukka
Jousitus
Jalkatapit
Lokasuojat
Lokasuojat
Seisontatuki
Renkaat
EtupyörÀn napa
TakapyörÀn napa
Jarrupoljin
Brake Piping
Etujarrun pÀÀsylinteri
Etujarru
Takajarrun pÀÀsylinteri
Takajarru
Ohjaustanko
Etujousitus
PolttoainesÀiliö
Satula
Mittaristo
Vaijerit
Sivukatteet
Ajovalo
Takavalo
Vilkut
Vilkut
SÀhköjÀrjestelmÀ
Virtalukko
Työkalut
Tarrat
Tarrat
Tarrat
Tarrat
Etukate
Etukate
Alakatteet
Accessory(Shroud Slider)
Accessory(Meter Cover)
Accessory(Crankcase Ring)
Accessory(Axle Slider)
Manual
Sylinterikansi
Venttiili koppa
Sylinteri / mÀntÀ
Ilmanpuhdistin
Pakoputkisto
Venttiilit
Nokka-akseli
Kampiakseli
Balancer
Kytkin
Vaihteisto
Vaihderumpu
Vaihteensiirto
Kampikammio
Kampikammion pultit
Moottorin kopat
Ãljypohja
Kaasu
Polttoainepumppu
Polttoaineen ruiskutus
Fuel Evaporative System
Ãljypumppu
Laturi
SytytysjÀrjestelmÀ
Starttimoottori
JÀÀhdytin
JÀÀhdytysletkut
Runko
Moottorin kiinnitys
Rungon kiinnikkeet
Takahaarukka
Jousitus
Jalkatapit
Lokasuojat
Lokasuojat
Seisontatuki
Renkaat
EtupyörÀn napa
TakapyörÀn napa
Jarrupoljin
Brake Piping
Etujarrun pÀÀsylinteri
Etujarru
Takajarrun pÀÀsylinteri
Takajarru
Ohjaustanko
Etujousitus
PolttoainesÀiliö
Satula
Mittaristo
Vaijerit
Sivukatteet
Ajovalo
Takavalo
Vilkut
Vilkut
SÀhköjÀrjestelmÀ
Virtalukko
Työkalut
Tarrat
Tarrat
Tarrat
Tarrat
Etukate
Etukate
Alakatteet
Accessory(Shroud Slider)
Accessory(Meter Cover)
Accessory(Crankcase Ring)
Accessory(Axle Slider)
Manual
Sylinterikansi
Venttiili koppa
Sylinteri / mÀntÀ
Ilmanpuhdistin
Pakoputkisto
Venttiilit
Nokka-akseli
Kampiakseli
Balancer
Kytkin
Vaihteisto
Vaihderumpu
Vaihteensiirto
Kampikammio
Kampikammion pultit
Moottorin kopat
Ãljypohja
Kaasu
Polttoainepumppu
Polttoaineen ruiskutus
Fuel Evaporative System
Ãljypumppu
Laturi
SytytysjÀrjestelmÀ
Starttimoottori
JÀÀhdytin
JÀÀhdytysletkut
Runko
Moottorin kiinnitys
Rungon kiinnikkeet
Takahaarukka
Jousitus
Jalkatapit
Lokasuojat
Lokasuojat
Seisontatuki
Renkaat
EtupyörÀn napa
TakapyörÀn napa
Jarrupoljin
Brake Piping
Etujarrun pÀÀsylinteri
Etujarru
Takajarrun pÀÀsylinteri
Takajarru
Ohjaustanko
Etujousitus
PolttoainesÀiliö
Satula
Mittaristo
Vaijerit
Sivukatteet
Ajovalo
Takavalo
Vilkut
Vilkut
SÀhköjÀrjestelmÀ
Virtalukko
Työkalut
Tarrat
Tarrat
Tarrat
Tarrat
Etukate
Etukate
Alakatteet
Accessory(Shroud Slider)
Accessory(Meter Cover)
Accessory(Crankcase Ring)
Accessory(Axle Slider)
Manual
Sylinterikansi
Venttiili koppa
Sylinteri / mÀntÀ
Ilmanpuhdistin
Pakoputkisto
Venttiilit
Nokka-akseli
Kampiakseli
Balancer
Kytkin
Vaihteisto
Vaihderumpu
Vaihteensiirto
Kampikammio
Kampikammion pultit
Moottorin kopat
Ãljypohja
Kaasu
Polttoainepumppu
Polttoaineen ruiskutus
Fuel Evaporative System
Ãljypumppu
Laturi
SytytysjÀrjestelmÀ
Starttimoottori
JÀÀhdytin
JÀÀhdytysletkut
Runko
Moottorin kiinnitys
Rungon kiinnikkeet
Takahaarukka
Jousitus
Jalkatapit
Lokasuojat
Lokasuojat
Seisontatuki
Renkaat
EtupyörÀn napa
TakapyörÀn napa
Jarrupoljin
Brake Piping
Etujarrun pÀÀsylinteri
Etujarru
Takajarrun pÀÀsylinteri
Takajarru
Ohjaustanko
Etujousitus
PolttoainesÀiliö
Satula
Mittaristo
Vaijerit
Sivukatteet
Ajovalo
Takavalo
Vilkut
Vilkut
SÀhköjÀrjestelmÀ
Virtalukko
Työkalut
Tarrat
Tarrat
Tarrat
Tarrat
Etukate
Etukate
Alakatteet
Accessory(Shroud Slider)
Accessory(Meter Cover)
Accessory(Crankcase Ring)
Accessory(Axle Slider)
Manual
Sylinterikansi
Venttiili koppa
Sylinteri / mÀntÀ
Ilmanpuhdistin
Pakoputkisto
Venttiilit
Nokka-akseli
Kampiakseli
Balancer
Kytkin
Vaihteisto
Vaihderumpu
Vaihteensiirto
Kampikammio
Kampikammion pultit
Moottorin kopat
Ãljypohja
Kaasu
Polttoainepumppu
Polttoaineen ruiskutus
Fuel Evaporative System
Ãljypumppu
Laturi
SytytysjÀrjestelmÀ
Starttimoottori
JÀÀhdytin
JÀÀhdytysletkut
Runko
Moottorin kiinnitys
Rungon kiinnikkeet
Takahaarukka
Jousitus
Jalkatapit
Lokasuojat
Lokasuojat
Seisontatuki
Renkaat
EtupyörÀn napa
TakapyörÀn napa
Jarrupoljin
Brake Piping
Etujarrun pÀÀsylinteri
Etujarru
Takajarrun pÀÀsylinteri
Takajarru
Ohjaustanko
Etujousitus
PolttoainesÀiliö
Satula
Mittaristo
Vaijerit
Sivukatteet
Ajovalo
Takavalo
Vilkut
SÀhköjÀrjestelmÀ
Virtalukko
Työkalut
Tarrat
Tarrat
Etukate
Etukate
Alakatteet
Accessory(Shroud Slider)
Accessory(Meter Cover)
Accessory(Crankcase Ring)
Accessory(Axle Slider)
Sylinterikansi
Venttiili koppa
Sylinteri / mÀntÀ
Ilmanpuhdistin
Pakoputkisto
Venttiilit
Nokka-akseli
Kampiakseli
Balancer
Kytkin
Vaihteisto
Vaihderumpu
Vaihteensiirto
Kampikammio
Kampikammion pultit
Moottorin kopat
Ãljypohja
Kaasu
Polttoainepumppu
Polttoaineen ruiskutus
Fuel Evaporative System
Ãljypumppu
Laturi
SytytysjÀrjestelmÀ
Starttimoottori
JÀÀhdytin
JÀÀhdytysletkut
Runko
Moottorin kiinnitys
Rungon kiinnikkeet
Takahaarukka
Jousitus
Jalkatapit
Lokasuojat
Lokasuojat
Seisontatuki
Renkaat
EtupyörÀn napa
TakapyörÀn napa
Jarrupoljin
Brake Piping
Etujarrun pÀÀsylinteri
Etujarru
Takajarrun pÀÀsylinteri
Takajarru
Ohjaustanko
Etujousitus
PolttoainesÀiliö
Satula
Mittaristo
Vaijerit
Sivukatteet
Ajovalo
Takavalo
Vilkut
SÀhköjÀrjestelmÀ
Virtalukko
Työkalut
Tarrat
Tarrat
Etukate
Etukate
Alakatteet
Accessory(Shroud Slider)
Accessory(Meter Cover)
Accessory(Crankcase Ring)
Accessory(Axle Slider)
Sylinterikansi
Venttiili koppa
Sylinteri / mÀntÀ
Ilmanpuhdistin
Pakoputkisto
Venttiilit
Nokka-akseli
Kampiakseli
Balancer
Kytkin
Vaihteisto
Vaihderumpu
Vaihteensiirto
Kampikammio
Kampikammion pultit
Moottorin kopat
Ãljypohja
Kaasu
Polttoainepumppu
Polttoaineen ruiskutus
Fuel Evaporative System
Ãljypumppu
Laturi
SytytysjÀrjestelmÀ
Starttimoottori
JÀÀhdytin
JÀÀhdytysletkut
Runko
Moottorin kiinnitys
Rungon kiinnikkeet
Takahaarukka
Jousitus
Jalkatapit
Lokasuojat
Lokasuojat
Seisontatuki
Renkaat
EtupyörÀn napa
TakapyörÀn napa
Jarrupoljin
Brake Piping
Etujarrun pÀÀsylinteri
Etujarru
Takajarrun pÀÀsylinteri
Takajarru
Ohjaustanko
Etujousitus
PolttoainesÀiliö
Satula
Mittaristo
Vaijerit
Sivukatteet
Ajovalo
Takavalo
Vilkut
SÀhköjÀrjestelmÀ
Virtalukko
Työkalut
Tarrat
Tarrat
Etukate
Etukate
Alakatteet
Accessory(Shroud Slider)
Accessory(Meter Cover)
Accessory(Crankcase Ring)
Accessory(Axle Slider)
Sylinterikansi
Venttiili koppa
Sylinteri / mÀntÀ
Ilmanpuhdistin
Pakoputkisto
Venttiilit
Nokka-akseli
Kampiakseli
Balancer
Kytkin
Vaihteisto
Vaihderumpu
Vaihteensiirto
Kampikammio
Kampikammion pultit
Moottorin kopat
Ãljypohja
Kaasu
Polttoainepumppu
Polttoaineen ruiskutus
Fuel Evaporative System
Ãljypumppu
Laturi
SytytysjÀrjestelmÀ
Starttimoottori
JÀÀhdytin
JÀÀhdytysletkut
Runko
Moottorin kiinnitys
Rungon kiinnikkeet
Takahaarukka
Jousitus
Jalkatapit
Lokasuojat
Lokasuojat
Seisontatuki
Renkaat
EtupyörÀn napa
TakapyörÀn napa
Jarrupoljin
Brake Piping
Etujarrun pÀÀsylinteri
Etujarru
Takajarrun pÀÀsylinteri
Takajarru
Ohjaustanko
Etujousitus
PolttoainesÀiliö
Satula
Mittaristo
Vaijerit
Ajovalo
Takavalo
Vilkut
SÀhköjÀrjestelmÀ
Virtalukko
Työkalut
Tarrat
Tarrat
Etukate
Etukate
Alakatteet
Accessory(Shroud Slider)
Accessory(Meter Cover)
Accessory(Crankcase Ring)
Accessory(Axle Slider)
NÄYTÄ TUOTEKATEGORIAT
NPM.FI
Varaosa luettelot
Yamaha moottorikelkat
1000 cc
RX1 2003 8FA2
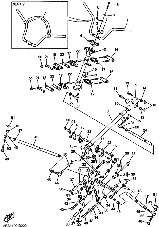
22-Ohjausakseli
22-Ohjausakseli, RX1 2003 8FA2, 1000 cc, Yamaha moottorikelkat -varaosa luettelot
Näytä suurempana
Nro
#1
Tuotenumero
8EK261101000
Nimike
KTS UUSI NRO 8EK261101100
Hinta
89,90 €
Määrä
+
-
Nro
#2
Tuotenumero
8FA238130000
Nimike
KTS UUSI NRO 8FA238130100
Hinta
205,25 €
Määrä
+
-
Nro
#3
Tuotenumero
8K1238140000
Nimike
UUSI NRO 1E6234410000
Hinta
13,00 €
Määrä
+
-
Nro
#4
Tuotenumero
8ED234420000
Nimike
HOLDER,HANDLELOWER
Hinta
108,30 €
Määrä
+
-
Nro
#5
Tuotenumero
8DF238570000
Nimike
HOLDER
Hinta
105,85 €
Määrä
+
-
Nro
#6
Tuotenumero
970270805500
Nimike
KTS UUSI NRO 970170805500
Hinta
3,40 €
Määrä
+
-
Nro
#7
Tuotenumero
929070860000
Nimike
WASHER(6TA)
Hinta
0,95 €
Määrä
+
-
Nro
#8
Tuotenumero
8FA238110000
Nimike
COLUMN,STEERING
Hinta
121,50 €
Määrä
+
-
Nro
#9
Tuotenumero
8FA238180000
Nimike
KTS UUSI NRO 8FA238180100
Hinta
16,50 €
Määrä
+
-
Nro
#10
Tuotenumero
8FA238730000
Nimike
KTS UUSI NRO 8FA238730100
Hinta
6,10 €
Määrä
+
-
Nro
#11
Tuotenumero
901051072800
Nimike
BOLT,FLANGE
Hinta
6,20 €
Määrä
+
-
Nro
#12
Tuotenumero
956071020000
Nimike
NUT, U FLANGE
Hinta
3,90 €
Määrä
+
-
Nro
#13
Tuotenumero
901050855200
Nimike
BOLT,FLANGE
Hinta
5,20 €
Määrä
+
-
Nro
#14
Tuotenumero
956070820000
Nimike
UUSI NRO 901850816900
Hinta
9,25 €
Määrä
+
-
Nro
#15
Tuotenumero
904681200600
Nimike
CLIP
Hinta
3,10 €
Määrä
+
-
Nro
#16
Tuotenumero
8FA238720000
Nimike
HOLDER,BEARING
Hinta
23,75 €
Määrä
+
-
Nro
#17
Tuotenumero
8FA238120000
Nimike
BEARING,STEERING
Hinta
6,55 €
Määrä
+
-
Nro
#18
Tuotenumero
8FA238670000
Nimike
HOLDER2
Hinta
3,00 €
Määrä
+
-
Nro
#19
Tuotenumero
8CJ238720000
Nimike
HOLDER,BEARING
Hinta
20,25 €
Määrä
+
-
Nro
#20
Tuotenumero
953170860000
Nimike
UUSI NRO 953370860000
Hinta
3,50 €
Määrä
+
-
Nro
#21
Tuotenumero
1UY238940100
Nimike
WASHER,LOCK1
Hinta
2,55 €
Määrä
+
-
Nro
#22
Tuotenumero
903870900600
Nimike
COLLAR
Hinta
6,10 €
Määrä
+
-
Nro
#23
Tuotenumero
8FA238430000
Nimike
WASHER,PLAIN
Hinta
4,05 €
Määrä
+
-
Nro
#24
Tuotenumero
8FA238280000
Nimike
ROD,STEERING
Hinta
30,20 €
Määrä
+
-
Nro
#25
Tuotenumero
8CR238470000
Nimike
JOINT,UNIVERSAL3
Hinta
70,05 €
Määrä
+
-
Nro
#26
Tuotenumero
8CR238451000
Nimike
JOINT,UNIVERSAL2
Hinta
50,40 €
Määrä
+
-
Nro
#27
Tuotenumero
953071070000
Nimike
UUSI NRO 953171070000
Hinta
3,60 €
Lisätiedot
Määrä
+
-
Korvaavat tuotteet
Nro
#
Tuotenumero
953171070000
Nimike
NMUT (3WP1)
Hinta
3,60 €
Määrä
+
-
Nro
#28
Tuotenumero
901701018600
Nimike
NUT
Hinta
5,20 €
Määrä
+
-
Nro
#29
Tuotenumero
8FA238210000
Nimike
ROD,STEERINGRELAY
Hinta
156,65 €
Määrä
+
-
Nro
#30
Tuotenumero
8FA2389K0000
Nimike
ARMPIVOTASSY
Hinta
219,70 €
Määrä
+
-
Nro
#31
Tuotenumero
933174178500
Nimike
BEARING
Hinta
52,80 €
Määrä
+
-
Nro
#32
Tuotenumero
8FA2389M0000
Nimike
ARMPIVOTASSY,2
Hinta
243,90 €
Määrä
+
-
Nro
#33
Tuotenumero
933174178500
Nimike
BEARING
Hinta
52,80 €
Määrä
+
-
Nro
#34
Tuotenumero
903811400100
Nimike
BUSH,SOLID
Hinta
3,70 €
Määrä
+
-
Nro
#35
Tuotenumero
901051201700
Nimike
BOLT,FLANGE
Hinta
13,55 €
Määrä
+
-
Nro
#36
Tuotenumero
8FA2384N0000
Nimike
CLIP,RING
Hinta
2,55 €
Määrä
+
-
Nro
#37
Tuotenumero
8FA2412G0000
Nimike
COLLAR
Hinta
13,35 €
Määrä
+
-
Nro
#38
Tuotenumero
90201121U300
Nimike
WASHER,PLATE
Hinta
10,80 €
Määrä
+
-
Nro
#39
Tuotenumero
8FA238260000
Nimike
ARM,IDLER
Hinta
75,25 €
Määrä
+
-
Nro
#40
Tuotenumero
901021004400
Nimike
BOLT,WITHHOLE
Hinta
11,50 €
Määrä
+
-
Nro
#41
Tuotenumero
903871000800
Nimike
KTS UUSI NRO 903871007000
Hinta
7,60 €
Määrä
+
-
Nro
#42
Tuotenumero
902011074200
Nimike
WASHER,PLATE
Hinta
7,20 €
Määrä
+
-
Nro
#43
Tuotenumero
8FA238310000
Nimike
ROD,TIE
Hinta
36,85 €
Määrä
+
-
Nro
#44
Tuotenumero
8CR238451000
Nimike
JOINT,UNIVERSAL2
Hinta
50,40 €
Määrä
+
-
Nro
#45
Tuotenumero
8FA238470000
Nimike
JOINT,UNIVERSAL3
Hinta
71,80 €
Määrä
+
-
Nro
#46
Tuotenumero
953071070000
Nimike
UUSI NRO 953171070000
Hinta
3,60 €
Lisätiedot
Määrä
+
-
Korvaavat tuotteet
Nro
#
Tuotenumero
953171070000
Nimike
NMUT (3WP1)
Hinta
3,60 €
Määrä
+
-
Nro
#47
Tuotenumero
901701018600
Nimike
NUT
Hinta
5,20 €
Määrä
+
-
Nro
#48
Tuotenumero
901021004400
Nimike
BOLT,WITHHOLE
Hinta
11,50 €
Määrä
+
-
Nro
#49
Tuotenumero
957071030000
Nimike
NUT,FLANGE
Hinta
2,30 €
Määrä
+
-
Nro
#50
Tuotenumero
957071050000
Nimike
KTS UUSI NRO 901791039400
Hinta
4,70 €
Määrä
+
-
Nro
#51
Tuotenumero
914902002500
Nimike
PIN, COTTER
Hinta
2,70 €
Määrä
+
-
Nro
#52
Tuotenumero
902010875900
Nimike
WASHER, PLATE
Hinta
2,15 €
Määrä
+
-