Kirjaudu
Kirjaudu sisään
Nakkilan pyörä ja mopo
Tuotekategoriat
Etusivu
Varaosaluettelot
Tarvikkeet
Varusteet
Tarjoukset
Ajoneuvot
Huolto
Yhteydenotto
Varaosa luettelot
Yamaha
1000 cc
FZ1-N
FZ1-N 2009
Sylinterikansi
Sylinteri
Kampiakseli ja mäntä
Venttiilit
Nokka-akseli ja ketju
Vesipumppu
Jäähdytin ja letkut
Öljypumppu
Oil cleaner
Ilmanotto
Imupuoli
Air induction system
Pakoputkisto
Kampikammio
Moottorin kopat
Starter
Kytkin
Vaihteisto
Vaihderumpu ja haarukat
Vaihdeakseli
Runko
Lokasuoja
Side cover
Rear arm
Rear suspension
Ohjaus
Etuhaarukka
Fuel tank
Istuin
Etupyörä
Etujarrusatula
Takapyörä
Takajarrusatula
Ohjaustanko ja vaijerit
Etujarrun pääsylinteri
Seisontatuki ja jalkatapit
Takajarrun pääsylinteri
Laturi
Starttimoottori
Vilkku
Mittaristo
Ajovalo
Takavalo
Ohjaustangon katkaisija ja vivut
Sähköjestelmä 1
Sähköjestelmä 2
Varaosat tuoteryhmittäin
Tarvikkeet
Tarjoukset
Varusteet
Ajoneuvot
NÄYTÄ TUOTEKATEGORIAT
NPM.FI
Varaosa luettelot
Yamaha
1000 cc
FZ1-N
FZ1-N 2009
Kampiakseli ja mäntä
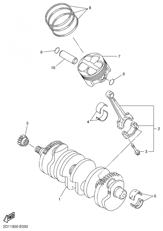
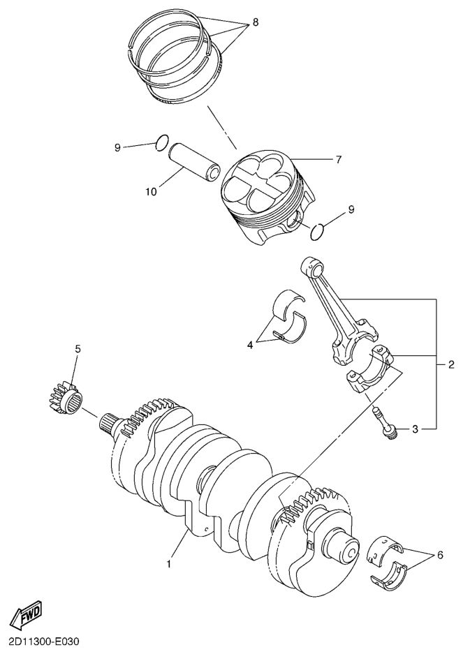
Kampiakseli ja mäntä, FZ1-N 2009, FZ1-N, 1000 cc, Yamaha -varaosa luettelot
Näytä suurempana
Nro
#1
Tuotenumero
2D1114110000
Nimike
CRANKSHAFT
Hinta
1 347,45 €
Määrä
+
-
Nro
#2
Tuotenumero
4C8116500000
Nimike
KTS UUSI NRO 14B116500000
Hinta
129,00 €
Määrä
+
-
Nro
#3
Tuotenumero
5VY116540100
Nimike
BOLT, CONNECTING ROD
Hinta
7,50 €
Määrä
+
-
Nro
#4
Tuotenumero
2D1116560000
Nimike
PLANE BEARING, CONNECTING ROD
Hinta
18,80 €
Määrä
+
-
Nro
#5
Tuotenumero
2D1116561000
Nimike
PLANE BEARING, CONNECTING ROD
Hinta
18,80 €
Määrä
+
-
Nro
#6
Tuotenumero
2D1116562000
Nimike
PLANE BEARING, CONNECTING ROD
Hinta
18,80 €
Määrä
+
-
Nro
#7
Tuotenumero
2D1116563000
Nimike
PLANE BEARING, CONNECTING ROD
Hinta
18,80 €
Määrä
+
-
Nro
#8
Tuotenumero
5VY115490000
Nimike
SPROCKET, CAM CHAIN
Hinta
70,30 €
Määrä
+
-
Nro
#9
Tuotenumero
5VY11416A000
Nimike
PLANE BEARING, CRANKSHAFT 1
Hinta
20,65 €
Määrä
+
-
Nro
#10
Tuotenumero
5VY114160000
Nimike
PLANE BEARING, CRANKSHAFT 1
Hinta
20,65 €
Määrä
+
-
Nro
#11
Tuotenumero
5VY114161000
Nimike
PLANE BEARING, CRANKSHAFT 1
Hinta
20,65 €
Määrä
+
-
Nro
#12
Tuotenumero
5VY114162000
Nimike
PLANE BEARING, CRANKSHAFT 1
Hinta
20,65 €
Määrä
+
-
Nro
#13
Tuotenumero
5VY114163000
Nimike
PLANE BEARING, CRANKSHAFT 1
Hinta
20,65 €
Määrä
+
-
Nro
#14
Tuotenumero
5VY116311000
Nimike
PISTON (STD)
Hinta
162,35 €
Määrä
+
-
Nro
#15
Tuotenumero
5VY116030100
Nimike
PISTON RING SET (STD)
Hinta
61,05 €
Määrä
+
-
Nro
#16
Tuotenumero
934501815700
Nimike
CIRCLIP
Hinta
0,60 €
Määrä
+
-
Nro
#17
Tuotenumero
5VY116330000
Nimike
PIN, PISTON
Hinta
51,10 €
Määrä
+
-