Kirjaudu
Kirjaudu sisään
Nakkilan pyörä ja mopo
Tuotekategoriat
Etusivu
Varaosaluettelot
Tarvikkeet
Varusteet
Tarjoukset
Ajoneuvot
Huolto
Yhteydenotto
Varaosa luettelot
Yamaha
1000 cc
FZ1-S
FZ1-S 2007
Sylinterikansi
Sylinteri
Kampiakseli ja mäntä
Venttiilit
Nokka-akseli ja ketju
Vesipumppu
Jäähdytin ja letkut
Öljypumppu
Oil cleaner
Ilmanotto
Imupuoli
Air induction system
Pakoputkisto
Kampikammio
Moottorin kopat
Starter
Kytkin
Vaihteisto
Vaihderumpu ja haarukat
Vaihdeakseli
Runko
Lokasuoja
Side cover
Rear arm
Rear suspension
Ohjaus
Etuhaarukka
Fuel tank
Istuin
Etupyörä
Etujarrusatula
Takapyörä
Takajarrusatula
Ohjaustanko ja vaijerit
Etujarrun pääsylinteri
Seisontatuki ja jalkatapit
Takajarrun pääsylinteri
Cowling 1
Laturi
Starttimoottori
Vilkku
Mittaristo
Ajovalo
Takavalo
Ohjaustangon katkaisija ja vivut
Sähköjestelmä 1
Sähköjestelmä 2
Varaosat tuoteryhmittäin
Tarvikkeet
Tarjoukset
Varusteet
Ajoneuvot
NÄYTÄ TUOTEKATEGORIAT
NPM.FI
Varaosa luettelot
Yamaha
1000 cc
FZ1-S
FZ1-S 2007
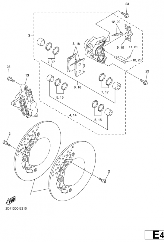
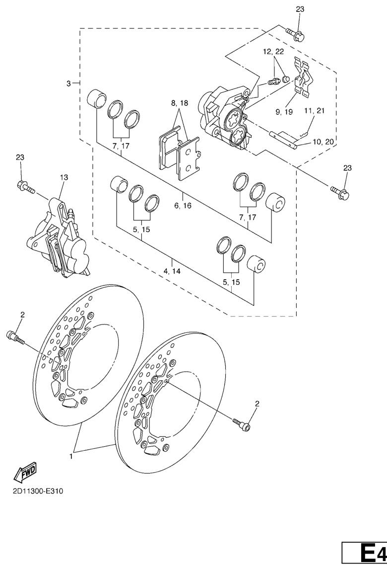
Etujarrusatula
Etujarrusatula, FZ1-S 2007, FZ1-S, 1000 cc, Yamaha -varaosa luettelot
Näytä suurempana
Nro
#1
Tuotenumero
5D02581T0000
Nimike
KTS UUSI NRO 5D02581T1000
Hinta
224,70 €
Määrä
+
-
Nro
#2
Tuotenumero
9,01491E+11
Nimike
9,01491E+11
Hinta
0,00 €
Määrä
+
-
Nro
#3
Tuotenumero
2D12580T0000
Nimike
CALIPER ASSY (LEFT)
Hinta
541,75 €
Määrä
+
-
Nro
#4
Tuotenumero
4SVW00570000
Nimike
UUSI NRO 4SV258020000
Hinta
159,15 €
Lisätiedot
Määrä
+
-
Korvaavat tuotteet
Nro
#
Tuotenumero
4SV258020000
Nimike
PISTON ASSY, CALIPER
Hinta
82,65 €
Määrä
+
-
Nro
#5
Tuotenumero
3MAW00471000
Nimike
KTS UUSI NRO 3MA258031000
Hinta
25,50 €
Lisätiedot
Määrä
+
-
Korvaavat tuotteet
Nro
#
Tuotenumero
3MA258031000
Nimike
CALIPER SEAL KIT
Hinta
25,60 €
Määrä
+
-
Nro
#6
Tuotenumero
4SVW00571000
Nimike
UUSI NRO 4SV258021000
Hinta
75,25 €
Lisätiedot
Määrä
+
-
Korvaavat tuotteet
Nro
#
Tuotenumero
4SV258021000
Nimike
PISTON ASSY, CALIPER
Hinta
82,65 €
Määrä
+
-
Nro
#7
Tuotenumero
3GMW00471000
Nimike
KTS UUSI NRO 3GM258031000
Hinta
25,50 €
Lisätiedot
Määrä
+
-
Korvaavat tuotteet
Nro
#
Tuotenumero
3GM258031000
Nimike
CALIPER SEAL KIT
Hinta
25,60 €
Määrä
+
-
Nro
#8
Tuotenumero
5SLW00450000
Nimike
KTS UUSI NRO 5SL258050000
Hinta
60,00 €
Määrä
+
-
Nro
#9
Tuotenumero
4SV259190000
Nimike
SUPPORT, PAD
Hinta
18,50 €
Määrä
+
-
Nro
#10
Tuotenumero
4SV259240000
Nimike
PIN, PAD
Hinta
15,85 €
Määrä
+
-
Nro
#11
Tuotenumero
3GM259250000
Nimike
CLIP, PAD PIN
Hinta
8,70 €
Määrä
+
-
Nro
#12
Tuotenumero
1J3W00480000
Nimike
BLEED SCREW KIT
Hinta
14,80 €
Lisätiedot
Määrä
+
-
Korvaavat tuotteet
Nro
#
Tuotenumero
51HW00480000
Nimike
UUSI NRO 1J3W00480000
Hinta
40,15 €
Määrä
+
-
Nro
#13
Tuotenumero
2D12580U0000
Nimike
CALIPER ASSY (RIGHT)
Hinta
541,75 €
Määrä
+
-
Nro
#14
Tuotenumero
4SVW00570000
Nimike
UUSI NRO 4SV258020000
Hinta
159,15 €
Lisätiedot
Määrä
+
-
Korvaavat tuotteet
Nro
#
Tuotenumero
4SV258020000
Nimike
PISTON ASSY, CALIPER
Hinta
82,65 €
Määrä
+
-
Nro
#15
Tuotenumero
3MAW00471000
Nimike
KTS UUSI NRO 3MA258031000
Hinta
25,50 €
Lisätiedot
Määrä
+
-
Korvaavat tuotteet
Nro
#
Tuotenumero
3MA258031000
Nimike
CALIPER SEAL KIT
Hinta
25,60 €
Määrä
+
-
Nro
#16
Tuotenumero
4SVW00571000
Nimike
UUSI NRO 4SV258021000
Hinta
75,25 €
Lisätiedot
Määrä
+
-
Korvaavat tuotteet
Nro
#
Tuotenumero
4SV258021000
Nimike
PISTON ASSY, CALIPER
Hinta
82,65 €
Määrä
+
-
Nro
#17
Tuotenumero
3GMW00471000
Nimike
KTS UUSI NRO 3GM258031000
Hinta
25,50 €
Lisätiedot
Määrä
+
-
Korvaavat tuotteet
Nro
#
Tuotenumero
3GM258031000
Nimike
CALIPER SEAL KIT
Hinta
25,60 €
Määrä
+
-
Nro
#18
Tuotenumero
5SLW00450000
Nimike
KTS UUSI NRO 5SL258050000
Hinta
60,00 €
Määrä
+
-
Nro
#19
Tuotenumero
4SV259190000
Nimike
SUPPORT, PAD
Hinta
18,50 €
Määrä
+
-
Nro
#20
Tuotenumero
4SV259240000
Nimike
PIN, PAD
Hinta
15,85 €
Määrä
+
-
Nro
#21
Tuotenumero
3GM259250000
Nimike
CLIP, PAD PIN
Hinta
8,70 €
Määrä
+
-
Nro
#22
Tuotenumero
1J3W00480000
Nimike
BLEED SCREW KIT
Hinta
14,80 €
Lisätiedot
Määrä
+
-
Korvaavat tuotteet
Nro
#
Tuotenumero
51HW00480000
Nimike
UUSI NRO 1J3W00480000
Hinta
40,15 €
Määrä
+
-
Nro
#23
Tuotenumero
9,01051E+11
Nimike
9,01051E+11
Hinta
0,00 €
Määrä
+
-