Kirjaudu
Kirjaudu sisään
Nakkilan pyörä ja mopo
Tuotekategoriat
Etusivu
Varaosaluettelot
Tarvikkeet
Varusteet
Tarjoukset
Ajoneuvot
Huolto
Yhteydenotto
Varaosa luettelot
Yamaha
1000 cc
MT-01
MT-01 2009
Sylinterikansi
Sylinteri
Kampiakseli ja mäntä
Venttiilit
Nokka-akseli ja ketju
Öljypumppu
Oil cleaner
Ilmanotto
Imupuoli
Pakoputkisto
Kampikammio
Moottorin kopat
Starter
Kytkin
Vaihteisto
Vaihderumpu ja haarukat
Vaihdeakseli
Runko
Frame 2
Lokasuoja
Side cover
Oil tank
Takahaarukka ja jousitus
Ohjaus
Etuhaarukka
Fuel tank
Istuin
Etupyörä
Etujarrusatula
Takapyörä
Takajarrusatula
Ohjaustanko ja vaijerit
Etujarrun pääsylinteri
Kytkimen pääsylinteri
Seisontatuki ja jalkatapit
Stand & footrest 2
Takajarrun pääsylinteri
Laturi
Vilkku
Mittaristo
Ajovalo
Takavalo
Ohjaustangon katkaisija ja vivut
Sähköjestelmä 1
Sähköjestelmä 2
Varaosat tuoteryhmittäin
Tarvikkeet
Tarjoukset
Varusteet
Ajoneuvot
NÄYTÄ TUOTEKATEGORIAT
NPM.FI
Varaosa luettelot
Yamaha
1000 cc
MT-01
MT-01 2009
Stand & footrest 2
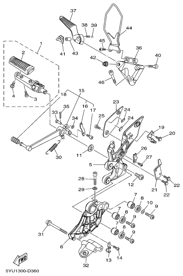
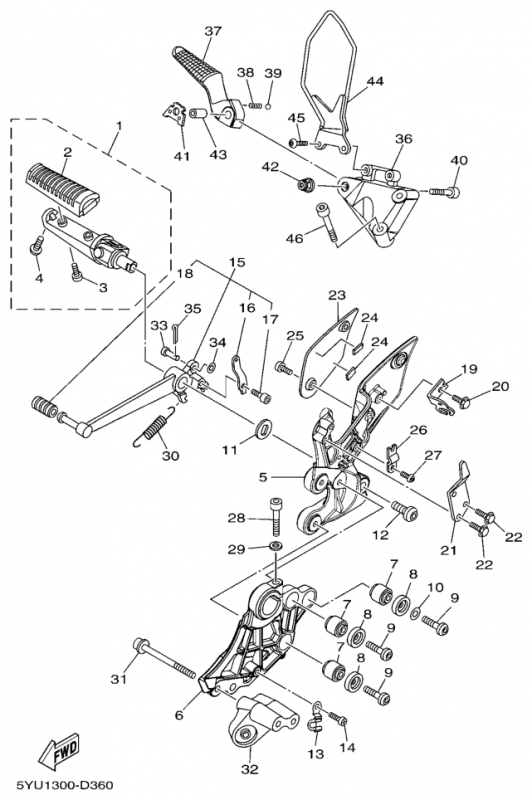
Stand & footrest 2, MT-01 2009, MT-01, 1000 cc, Yamaha -varaosa luettelot
Näytä suurempana
Nro
#1
Tuotenumero
5YU274200000
Nimike
5YU274200000
Hinta
0,00 €
Määrä
+
-
Nro
#2
Tuotenumero
4BP274130000
Nimike
COVER, FOOTREST
Hinta
29,25 €
Määrä
+
-
Nro
#3
Tuotenumero
901570507900
Nimike
KTS UUSI NRO 985070501400
Hinta
0,95 €
Määrä
+
-
Nro
#4
Tuotenumero
90109083E000
Nimike
KTS UUSI NRO 901090807500
Hinta
2,15 €
Määrä
+
-
Nro
#5
Tuotenumero
5YU274432000
Nimike
5YU274432000
Hinta
0,00 €
Määrä
+
-
Nro
#6
Tuotenumero
5YU274430000
Nimike
5YU274430000
Hinta
0,00 €
Määrä
+
-
Nro
#6
Tuotenumero
5YU274A42000
Nimike
5YU274A42000
Hinta
0,00 €
Määrä
+
-
Nro
#7
Tuotenumero
5YU274A40000
Nimike
5YU274A40000
Hinta
0,00 €
Määrä
+
-
Nro
#7
Tuotenumero
1NL274240000
Nimike
DAMPER, FOOTREST 2
Hinta
26,55 €
Määrä
+
-
Nro
#8
Tuotenumero
902090829500
Nimike
WASHER
Hinta
8,65 €
Määrä
+
-
Nro
#9
Tuotenumero
901100822000
Nimike
BOLT, HEXAGON SOCKET HEAD
Hinta
3,90 €
Määrä
+
-
Nro
#10
Tuotenumero
902010808500
Nimike
WASHER,PLATE
Hinta
2,55 €
Määrä
+
-
Nro
#11
Tuotenumero
902141300200
Nimike
WASHER, CLAW
Hinta
6,90 €
Määrä
+
-
Nro
#12
Tuotenumero
90109103A900
Nimike
KTS UUSI NRO 901111001700
Hinta
8,35 €
Määrä
+
-
Nro
#13
Tuotenumero
5YU272680000
Nimike
5YU272680000
Hinta
0,00 €
Määrä
+
-
Nro
#14
Tuotenumero
985070601000
Nimike
SCREW, PAN
Hinta
0,95 €
Määrä
+
-
Nro
#15
Tuotenumero
5YU272000000
Nimike
5YU272000000
Hinta
0,00 €
Määrä
+
-
Nro
#16
Tuotenumero
5YU272750000
Nimike
5YU272750000
Hinta
0,00 €
Määrä
+
-
Nro
#17
Tuotenumero
913170601000
Nimike
BOLT
Hinta
1,85 €
Määrä
+
-
Nro
#18
Tuotenumero
5YU278540000
Nimike
5YU278540000
Hinta
0,00 €
Määrä
+
-
Nro
#19
Tuotenumero
5YU2144G0000
Nimike
5YU2144G0000
Hinta
0,00 €
Määrä
+
-
Nro
#21
Tuotenumero
5YU274450000
Nimike
5YU274450000
Hinta
0,00 €
Määrä
+
-
Nro
#22
Tuotenumero
901050605000
Nimike
BOLT,FLANGE
Hinta
0,25 €
Määrä
+
-
Nro
#23
Tuotenumero
5YU274860000
Nimike
5YU274860000
Hinta
0,00 €
Määrä
+
-
Nro
#24
Tuotenumero
1HX274150000
Nimike
PLATE, DAMPER
Hinta
1,55 €
Määrä
+
-
Nro
#25
Tuotenumero
901110501500
Nimike
KTS UUSI NRO 920140500800
Hinta
0,95 €
Määrä
+
-
Nro
#26
Tuotenumero
5YU272640000
Nimike
5YU272640000
Hinta
0,00 €
Määrä
+
-
Nro
#27
Tuotenumero
920170601000
Nimike
SCREW
Hinta
1,85 €
Määrä
+
-
Nro
#28
Tuotenumero
913140804000
Nimike
BOLT,SOCKET
Hinta
2,85 €
Määrä
+
-
Nro
#29
Tuotenumero
90201083P500
Nimike
WASHER, PLATE
Hinta
3,10 €
Määrä
+
-
Nro
#30
Tuotenumero
905062001400
Nimike
SPRING, TENSION
Hinta
3,80 €
Määrä
+
-
Nro
#31
Tuotenumero
901100804900
Nimike
901100804900
Hinta
0,00 €
Määrä
+
-
Nro
#32
Tuotenumero
5YU274010000
Nimike
5YU274010000
Hinta
0,00 €
Määrä
+
-
Nro
#33
Tuotenumero
917010601800
Nimike
PIN, CLEVIS (5X6)
Hinta
2,85 €
Määrä
+
-
Nro
#34
Tuotenumero
929070620000
Nimike
WASHER(6TA)
Hinta
0,95 €
Määrä
+
-
Nro
#35
Tuotenumero
914011601200
Nimike
UUSI NRO 914901602000
Hinta
6,00 €
Lisätiedot
Määrä
+
-
Korvaavat tuotteet
Nro
#
Tuotenumero
914901602000
Nimike
PIN, COTTER (E57)
Hinta
6,00 €
Määrä
+
-
Nro
#36
Tuotenumero
5YU2742L0000
Nimike
5YU2742L0000
Hinta
0,00 €
Määrä
+
-
Nro
#37
Tuotenumero
5YU274410000
Nimike
5YU274410000
Hinta
0,00 €
Määrä
+
-
Nro
#38
Tuotenumero
905011500100
Nimike
SPRING, COMPRESSION
Hinta
2,15 €
Määrä
+
-
Nro
#39
Tuotenumero
935010401100
Nimike
BALL
Hinta
0,70 €
Määrä
+
-
Nro
#40
Tuotenumero
913140604000
Nimike
BOLT, SOCKET
Hinta
1,85 €
Määrä
+
-
Nro
#41
Tuotenumero
5YU274370000
Nimike
5YU274370000
Hinta
0,00 €
Määrä
+
-
Nro
#43
Tuotenumero
903870601400
Nimike
COLLAR
Hinta
3,80 €
Määrä
+
-
Nro
#44
Tuotenumero
5YU223620000
Nimike
5YU223620000
Hinta
0,00 €
Määrä
+
-
Nro
#45
Tuotenumero
901490627000
Nimike
UUSI NRO 920140601600
Hinta
1,85 €
Määrä
+
-
Nro
#46
Tuotenumero
901100822000
Nimike
BOLT, HEXAGON SOCKET HEAD
Hinta
3,90 €
Määrä
+
-