Kirjaudu
Kirjaudu sisään
Nakkilan pyörä ja mopo
Tuotekategoriat
Etusivu
Varaosaluettelot
Tarvikkeet
Varusteet
Tarjoukset
Ajoneuvot
Huolto
Yhteydenotto
Varaosa luettelot
Yamaha
1000 cc
YZF-R1
YZF-R1 2011
Sylinterikansi
Sylinteri
Kampiakseli ja mäntä
Venttiilit
Nokka-akseli ja ketju
Vesipumppu
Jäähdytin ja letkut
Öljypumppu
Oil cleaner
Ilmanotto
Imupuoli
Air induction system
Pakoputkisto
Kampikammio
Moottorin kopat
Starter
Kytkin
Vaihteisto
Vaihderumpu ja haarukat
Vaihdeakseli
Runko
Lokasuoja
Side cover
Rear arm
Rear suspension
Ohjaus
Etuhaarukka
Fuel tank
Istuin
Etupyörä
Etujarrusatula
Takapyörä
Takajarrusatula
Ohjaustanko ja vaijerit
Etujarrun pääsylinteri
Seisontatuki ja jalkatapit
Takajarrun pääsylinteri
Cowling 1
Cowling 2
Laturi
Starttimoottori
Vilkku
Mittaristo
Ajovalo
Takavalo
Ohjaustangon katkaisija ja vivut
Sähköjestelmä 1
Sähköjestelmä 2
Varaosat tuoteryhmittäin
Tarvikkeet
Tarjoukset
Varusteet
Ajoneuvot
NÄYTÄ TUOTEKATEGORIAT
NPM.FI
Varaosa luettelot
Yamaha
1000 cc
YZF-R1
YZF-R1 2011
Pakoputkisto
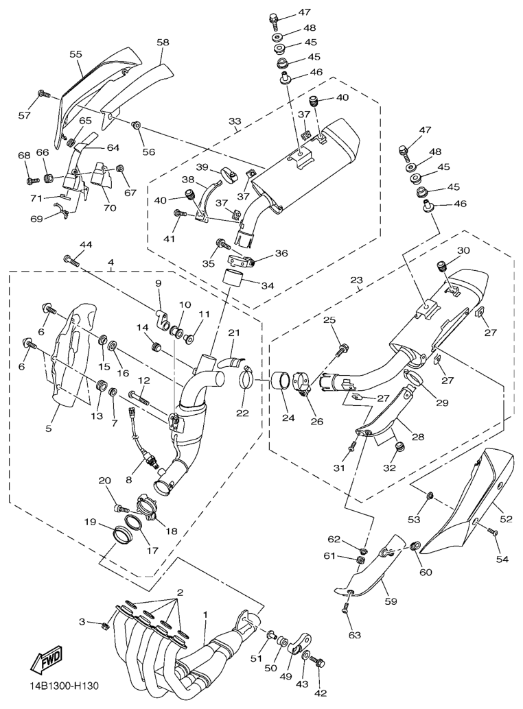
Pakoputkisto, YZF-R1 2011, YZF-R1, 1000 cc, Yamaha -varaosa luettelot
Näytä suurempana
Nro
#1
Tuotenumero
14B146020000
Nimike
14B146020000
Hinta
0,00 €
Määrä
+
-
Nro
#2
Tuotenumero
4FM146130000
Nimike
TIIVISTE YZF-R1 -98
Hinta
14,10 €
Lisätiedot
Määrä
+
-
Korvaavat tuotteet
Nro
#
Tuotenumero
S410485012036
Nimike
PAKOTIIVISTE 37,3X44X3,5
Hinta
10,45 €
Määrä
+
-
Nro
#3
Tuotenumero
901790841000
Nimike
NUT
Hinta
4,35 €
Määrä
+
-
Nro
#4
Tuotenumero
14B147401000
Nimike
14B147401000
Hinta
0,00 €
Määrä
+
-
Nro
#5
Tuotenumero
14B147380000
Nimike
14B147380000
Hinta
0,00 €
Määrä
+
-
Nro
#6
Tuotenumero
901100620000
Nimike
BOLT, HEXAGON SOCKET HEAD(3HE)
Hinta
3,45 €
Määrä
+
-
Nro
#7
Tuotenumero
903870611200
Nimike
COLLAR
Hinta
2,85 €
Määrä
+
-
Nro
#8
Tuotenumero
14B8592A0000
Nimike
14B8592A0000
Hinta
0,00 €
Määrä
+
-
Nro
#9
Tuotenumero
14B214450000
Nimike
14B214450000
Hinta
0,00 €
Määrä
+
-
Nro
#10
Tuotenumero
4XV274240000
Nimike
DAMPER, MUFFLER
Hinta
16,90 €
Määrä
+
-
Nro
#11
Tuotenumero
903870800500
Nimike
COLLAR
Hinta
24,20 €
Määrä
+
-
Nro
#12
Tuotenumero
920140803500
Nimike
BOLT, BUTTON HEAD(3YF)
Hinta
2,40 €
Määrä
+
-
Nro
#13
Tuotenumero
904801257900
Nimike
GROMMET(4HX)
Hinta
18,60 €
Määrä
+
-
Nro
#14
Tuotenumero
2D1147370000
Nimike
KTS UUSI NRO 2D1147370100
Hinta
9,50 €
Määrä
+
-
Nro
#15
Tuotenumero
903870621700
Nimike
903870621700
Hinta
0,00 €
Määrä
+
-
Nro
#16
Tuotenumero
902010808000
Nimike
902010808000
Hinta
0,00 €
Määrä
+
-
Nro
#17
Tuotenumero
14B146230000
Nimike
14B146230000
Hinta
0,00 €
Määrä
+
-
Nro
#18
Tuotenumero
14B147250000
Nimike
14B147250000
Hinta
0,00 €
Määrä
+
-
Nro
#19
Tuotenumero
14B146180000
Nimike
14B146180000
Hinta
0,00 €
Määrä
+
-
Nro
#20
Tuotenumero
901100634300
Nimike
901100634300
Hinta
0,00 €
Määrä
+
-
Nro
#21
Tuotenumero
14B1465U0000
Nimike
14B1465U0000
Hinta
0,00 €
Määrä
+
-
Nro
#22
Tuotenumero
904504500100
Nimike
HOSE CLAMP ASSY
Hinta
47,05 €
Määrä
+
-
Nro
#23
Tuotenumero
14B147102000
Nimike
14B147102000
Hinta
0,00 €
Määrä
+
-
Nro
#24
Tuotenumero
5VY147140000
Nimike
GASKET, MUFFLER
Hinta
34,65 €
Määrä
+
-
Nro
#25
Tuotenumero
958140803500
Nimike
BOLT, FLANGE
Hinta
1,50 €
Määrä
+
-
Nro
#26
Tuotenumero
3D8147150000
Nimike
BAND, MUFFLER
Hinta
50,40 €
Määrä
+
-
Nro
#27
Tuotenumero
90183060A200
Nimike
NUT, SPRING
Hinta
2,30 €
Määrä
+
-
Nro
#28
Tuotenumero
14B1465R0000
Nimike
14B1465R0000
Hinta
0,00 €
Määrä
+
-
Nro
#29
Tuotenumero
904504500100
Nimike
HOSE CLAMP ASSY
Hinta
47,05 €
Määrä
+
-
Nro
#30
Tuotenumero
3D7147370000
Nimike
3D7147370000
Hinta
0,00 €
Määrä
+
-
Nro
#31
Tuotenumero
920120601000
Nimike
BOLT,BUTTONHEAD
Hinta
1,05 €
Määrä
+
-
Nro
#32
Tuotenumero
4FM241810000
Nimike
DAMPER,LOCATING1
Hinta
9,20 €
Määrä
+
-
Nro
#33
Tuotenumero
14B147202000
Nimike
14B147202000
Hinta
0,00 €
Määrä
+
-
Nro
#34
Tuotenumero
5VY147140000
Nimike
GASKET, MUFFLER
Hinta
34,65 €
Määrä
+
-
Nro
#35
Tuotenumero
958140803500
Nimike
BOLT, FLANGE
Hinta
1,50 €
Määrä
+
-
Nro
#36
Tuotenumero
3D8147150000
Nimike
BAND, MUFFLER
Hinta
50,40 €
Määrä
+
-
Nro
#37
Tuotenumero
90183060A200
Nimike
NUT, SPRING
Hinta
2,30 €
Määrä
+
-
Nro
#38
Tuotenumero
14B1465T0000
Nimike
14B1465T0000
Hinta
0,00 €
Määrä
+
-
Nro
#39
Tuotenumero
904504500100
Nimike
HOSE CLAMP ASSY
Hinta
47,05 €
Määrä
+
-
Nro
#40
Tuotenumero
3D7147370000
Nimike
3D7147370000
Hinta
0,00 €
Määrä
+
-
Nro
#41
Tuotenumero
920120601000
Nimike
BOLT,BUTTONHEAD
Hinta
1,05 €
Määrä
+
-
Nro
#42
Tuotenumero
958120804000
Nimike
UUSI NRO 958170804000
Hinta
3,15 €
Määrä
+
-
Nro
#43
Tuotenumero
90201087G200
Nimike
WASHER, PLATE(3DM)
Hinta
0,95 €
Määrä
+
-
Nro
#44
Tuotenumero
901110807100
Nimike
901110807100
Hinta
0,00 €
Määrä
+
-
Nro
#45
Tuotenumero
14B274240000
Nimike
14B274240000
Hinta
0,00 €
Määrä
+
-
Nro
#46
Tuotenumero
903870802000
Nimike
COLLAR
Hinta
23,75 €
Määrä
+
-
Nro
#47
Tuotenumero
958140804500
Nimike
BOLT, FLANGE
Hinta
3,70 €
Määrä
+
-
Nro
#48
Tuotenumero
902010803400
Nimike
WASHER, PLATE
Hinta
3,10 €
Määrä
+
-
Nro
#49
Tuotenumero
14B214460000
Nimike
14B214460000
Hinta
0,00 €
Määrä
+
-
Nro
#50
Tuotenumero
5VY147470000
Nimike
DAMPER,MUFFLER
Hinta
5,25 €
Määrä
+
-
Nro
#51
Tuotenumero
903870802100
Nimike
COLLAR
Hinta
11,80 €
Määrä
+
-
Nro
#52
Tuotenumero
14B147180000
Nimike
14B147180000
Hinta
0,00 €
Määrä
+
-
Nro
#53
Tuotenumero
903870617000
Nimike
COLLAR
Hinta
3,40 €
Määrä
+
-
Nro
#54
Tuotenumero
901110612700
Nimike
BOLT,HEX. SOCKET BUTTON
Hinta
2,25 €
Määrä
+
-
Nro
#55
Tuotenumero
14B147280000
Nimike
14B147280000
Hinta
0,00 €
Määrä
+
-
Nro
#56
Tuotenumero
903870617000
Nimike
COLLAR
Hinta
3,40 €
Määrä
+
-
Nro
#57
Tuotenumero
901110612700
Nimike
BOLT,HEX. SOCKET BUTTON
Hinta
2,25 €
Määrä
+
-
Nro
#58
Tuotenumero
14B1476P0000
Nimike
14B1476P0000
Hinta
0,00 €
Määrä
+
-
Nro
#59
Tuotenumero
14B2163E0000
Nimike
14B2163E0000
Hinta
0,00 €
Määrä
+
-
Nro
#60
Tuotenumero
904800155800
Nimike
GROMMET
Hinta
3,30 €
Määrä
+
-
Nro
#61
Tuotenumero
904801258100
Nimike
GROMMET2
Hinta
6,45 €
Määrä
+
-
Nro
#62
Tuotenumero
90387087L000
Nimike
COLLAR
Hinta
4,60 €
Lisätiedot
Määrä
+
-
Korvaavat tuotteet
Nro
#
Tuotenumero
90387061U900
Nimike
UUSI NRO 90387087L000
Hinta
7,20 €
Määrä
+
-
Nro
#63
Tuotenumero
901110609500
Nimike
BOLT,HEX. SOCKET BUTTON
Hinta
2,80 €
Määrä
+
-
Nro
#64
Tuotenumero
14B2163F0000
Nimike
14B2163F0000
Hinta
0,00 €
Määrä
+
-
Nro
#65
Tuotenumero
904800155800
Nimike
GROMMET
Hinta
3,30 €
Määrä
+
-
Nro
#66
Tuotenumero
904801258100
Nimike
GROMMET2
Hinta
6,45 €
Määrä
+
-
Nro
#67
Tuotenumero
90387087L000
Nimike
COLLAR
Hinta
4,60 €
Lisätiedot
Määrä
+
-
Korvaavat tuotteet
Nro
#
Tuotenumero
90387061U900
Nimike
UUSI NRO 90387087L000
Hinta
7,20 €
Määrä
+
-
Nro
#68
Tuotenumero
901110609500
Nimike
BOLT,HEX. SOCKET BUTTON
Hinta
2,80 €
Määrä
+
-
Nro
#69
Tuotenumero
904641600600
Nimike
CLAMP
Hinta
2,40 €
Määrä
+
-
Nro
#70
Tuotenumero
14B1478P0000
Nimike
14B1478P0000
Hinta
0,00 €
Määrä
+
-
Nro
#71
Tuotenumero
14B1479P0000
Nimike
14B1479P0000
Hinta
0,00 €
Määrä
+
-