Kirjaudu
Kirjaudu sisään
Nakkilan pyörä ja mopo
Tuotekategoriat
Etusivu
Varaosaluettelot
Tarvikkeet
Varusteet
Tarjoukset
Ajoneuvot
Huolto
Yhteydenotto
Varaosa luettelot
Yamaha
1200 cc
XTZ1200 Super Ténéré
XT1200ZE ABS 2014
Sylinterikansi
Sylinteri
Kampiakseli ja mÀntÀ
Venttiilit
Nokka-akseli ja ketju
Vesipumppu
JÀÀhdytin ja letkut
Ãljypumppu
Ilmanotto
Imupuoli 2
Pakoputkisto
Kampikammio
Kampikammion kansi 1
KÀynnistinkytkin
Kytkin
Vaihteisto
VÀlitysratas
Vaihderumpu ja haarukat
Vaihdeakseli
Runko
Lokasuoja
SIDE COVER
Takahaarukka ja jousitus
Vetoakseli
Etuhaarukka
Ohjaus
PolttoainejÀrjestelmÀ
Istuin
EtupyörÀ
Etujarrusatula
TakapyörÀ
Takajarrusatula
Ohjaustanko ja vaijerit
Etujarrun pÀÀsylinteri
Kytkimen pÀÀsylinteri 2
Seisontatuki ja jalkatapit
Takajarrun pÀÀsylinteri
Tuulilasi
Kate
Laturi
KÀynnistinmoottori
Vilkku
Mittaristo
Ajovalo
Takavalo
Ohjaustangon katkaisija ja vivut
SÀhköjÀrjestelmÀ 1
SÀhköjÀrjestelmÀ 2
SÀhköjÀrjestelmÀ 3
Varaosat tuoteryhmittäin
Tarvikkeet
Tarjoukset
Varusteet
Ajoneuvot
NÄYTÄ TUOTEKATEGORIAT
NPM.FI
Varaosa luettelot
Yamaha
1200 cc
XTZ1200 Super Ténéré
XT1200ZE ABS 2014
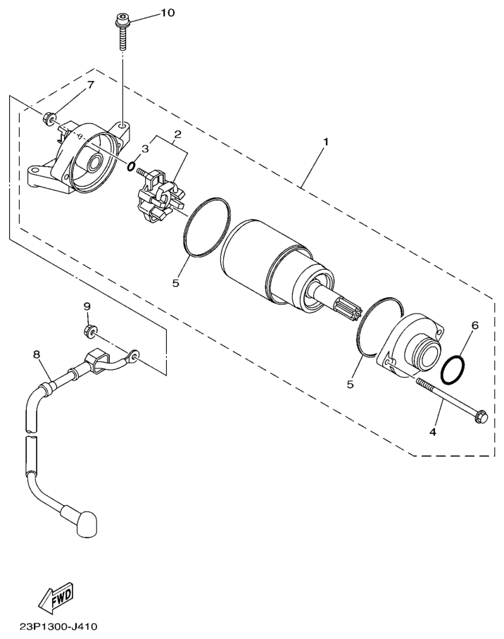
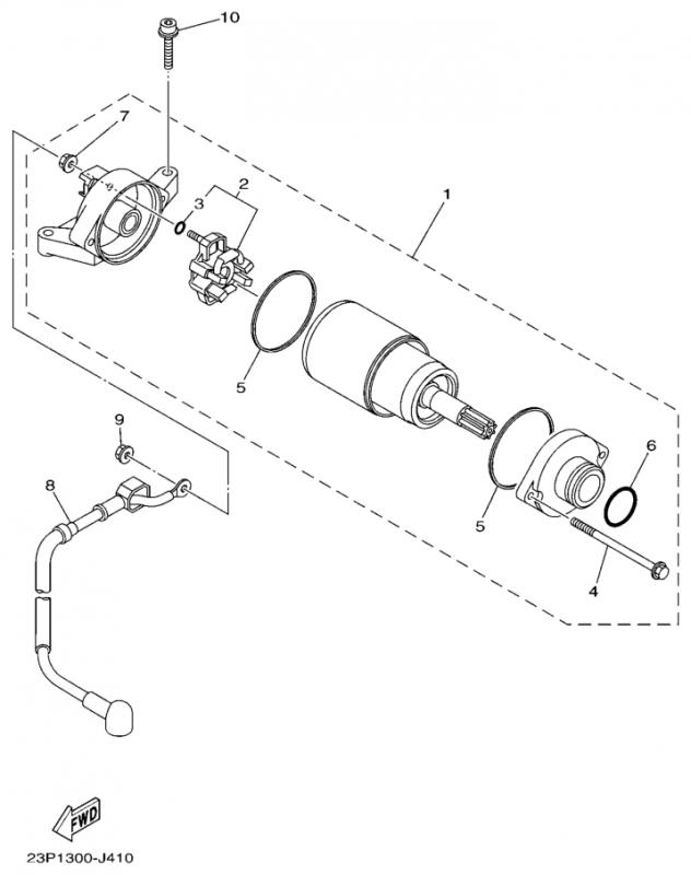
KÀynnistinmoottori
KÀynnistinmoottori, XT1200ZE ABS 2014, XTZ1200 Super Ténéré, 1200 cc, Yamaha -varaosa luettelot
Näytä suurempana
Nro
#1
Tuotenumero
23P818900000
Nimike
23P818900000
Hinta
0,00 €
Määrä
+
-
Nro
#2
Tuotenumero
4B5818400000
Nimike
BRUSH HOLDER ASSY
Hinta
95,85 €
Määrä
+
-
Nro
#3
Tuotenumero
3TB818470000
Nimike
O-RING
Hinta
4,70 €
Määrä
+
-
Nro
#4
Tuotenumero
18P818260000
Nimike
BOLT
Hinta
24,40 €
Määrä
+
-
Nro
#5
Tuotenumero
4B5818440000
Nimike
GASKET
Hinta
16,40 €
Määrä
+
-
Nro
#6
Tuotenumero
1FK818470000
Nimike
KTS UUSI NRO 932102423500
Hinta
8,40 €
Määrä
+
-
Nro
#7
Tuotenumero
4XV8182A0000
Nimike
NUT
Hinta
2,55 €
Määrä
+
-
Nro
#8
Tuotenumero
23P818150000
Nimike
23P818150000
Hinta
0,00 €
Määrä
+
-
Nro
#9
Tuotenumero
4XV8182A0000
Nimike
NUT
Hinta
2,55 €
Määrä
+
-
Nro
#10
Tuotenumero
901100634900
Nimike
BOLT, HEXAGON SOCKET HEAD
Hinta
1,25 €
Määrä
+
-