NÄYTÄ TUOTEKATEGORIAT

Etujarrusatula, XJR1300 2008, XJR1300, 1300 cc, Yamaha -varaosa luettelot

XJR1300
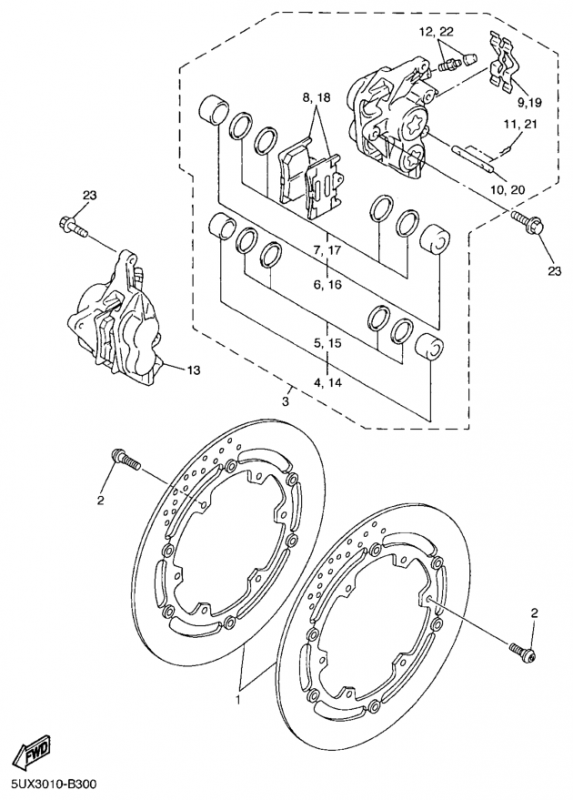
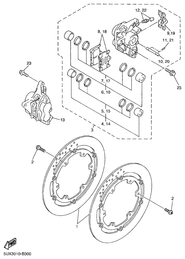
DISC BRAKE ASSY
Nro#1
Tuotenumero5PX2581T0000

NimikeDISC BRAKE ASSY

Hinta 243,40 €
Määrä

Korvaavat tuotteet
JARRULEVY YZF1000
Nro#
TuotenumeroDF5172AF

NimikeJARRULEVY YZF1000

BT BULLDOG 1100 2002 - 2006 Front brake disc   FJR A...

Hinta 191,30 €
Määrä
Lisätiedot:

BT BULLDOG 1100 2002 - 2006
Front brake disc  
FJR A 1300 2013 - 2015
Front brake disc  
FZS FAZER 1000 2001 - 2005
Front brake disc  
TDM 900 2002 - 2012
Front brake disc  
TDM ABS 900 2005 - 2007
Front brake disc  
V-MAX (YMX 12N) 1200 1993 - 2003
Front brake disc  
XJ N 600 1998 - 2003
Front brake disc  
XJ S DIVERSION 600 1998 - 2002
Front brake disc
XJR 1300 1999 - 2011
Front brake disc  
XJR SP 1300 2001
Front brake disc  
XV WARRIOR 1700 2003 - 2004
Front brake disc  
XVZ 12 TD 1200 1988 >
Front brake disc
Rear brake disc
YZ-F R THUNDER ACE 1000 1996 - 2001
Front brake disc  
YZ-F R THUNDER CAT 600 1996 - 2004
Front brake disc
YZ-F R1 1000 1998 - 2003
Front brake disc  
YZ-F R6 600 1999 - 2002
Front brake disc  


KTS UUSI NRO 901090625400
Nro#2
Tuotenumero90109064G600

NimikeKTS UUSI NRO 901090625400

Hinta 2,80 €
Määrä

Korvaavat tuotteet
BOLT
Nro#
Tuotenumero901090625400

NimikeBOLT

Hinta 2,80 €
Määrä
5UX2580T1000
Nro#3
Tuotenumero5UX2580T1000

Nimike5UX2580T1000

Hinta 0,00 €
Määrä
UUSI NRO 4SV258020000
Nro#4
Tuotenumero4SVW00570000

NimikeUUSI NRO 4SV258020000

Hinta 159,15 €
Määrä

Korvaavat tuotteet
PISTON ASSY, CALIPER
Nro#
Tuotenumero4SV258020000

NimikePISTON ASSY, CALIPER

Hinta 82,65 €
Määrä
KTS UUSI NRO 3MA258031000
Nro#5
Tuotenumero3MAW00471000

NimikeKTS UUSI NRO 3MA258031000

Hinta 25,50 €
Määrä

Korvaavat tuotteet
CALIPER SEAL KIT
Nro#
Tuotenumero3MA258031000

NimikeCALIPER SEAL KIT

Hinta 25,60 €
Määrä
UUSI NRO 4SV258021000
Nro#6
Tuotenumero4SVW00571000

NimikeUUSI NRO 4SV258021000

Hinta 75,25 €
Määrä

Korvaavat tuotteet
PISTON ASSY, CALIPER
Nro#
Tuotenumero4SV258021000

NimikePISTON ASSY, CALIPER

Hinta 82,65 €
Määrä
KTS UUSI NRO 3GM258031000
Nro#7
Tuotenumero3GMW00471000

NimikeKTS UUSI NRO 3GM258031000

Hinta 25,50 €
Määrä

Korvaavat tuotteet
CALIPER SEAL KIT
Nro#
Tuotenumero3GM258031000

NimikeCALIPER SEAL KIT

Hinta 25,60 €
Määrä
KTS UUSI NRO 4SV258050000
Nro#8
Tuotenumero4SVW00450000

NimikeKTS UUSI NRO 4SV258050000

Hinta 61,15 €
Määrä

Korvaavat tuotteet
JARRUPALAT
Nro#
Tuotenumero4SV258050000

NimikeJARRUPALAT

Hinta 64,05 €
Määrä
SUPPORT, PAD
Nro#9
Tuotenumero4SV259190000

NimikeSUPPORT, PAD

Hinta 18,50 €
Määrä
PIN, PAD
Nro#10
Tuotenumero4SV259240000

NimikePIN, PAD

Hinta 15,85 €
Määrä
CLIP, PAD PIN
Nro#11
Tuotenumero3GM259250000

NimikeCLIP, PAD PIN

Hinta 8,70 €
Määrä
BLEED SCREW KIT
Nro#12
Tuotenumero1J3W00480000

NimikeBLEED SCREW KIT

Hinta 14,80 €
Määrä

Korvaavat tuotteet
UUSI NRO 1J3W00480000
Nro#
Tuotenumero51HW00480000

NimikeUUSI NRO 1J3W00480000

Hinta 40,15 €
Määrä
5UX2580U1000
Nro#13
Tuotenumero5UX2580U1000

Nimike5UX2580U1000

Hinta 0,00 €
Määrä
UUSI NRO 4SV258020000
Nro#14
Tuotenumero4SVW00570000

NimikeUUSI NRO 4SV258020000

Hinta 159,15 €
Määrä

Korvaavat tuotteet
PISTON ASSY, CALIPER
Nro#
Tuotenumero4SV258020000

NimikePISTON ASSY, CALIPER

Hinta 82,65 €
Määrä
KTS UUSI NRO 3MA258031000
Nro#15
Tuotenumero3MAW00471000

NimikeKTS UUSI NRO 3MA258031000

Hinta 25,50 €
Määrä

Korvaavat tuotteet
CALIPER SEAL KIT
Nro#
Tuotenumero3MA258031000

NimikeCALIPER SEAL KIT

Hinta 25,60 €
Määrä
UUSI NRO 4SV258021000
Nro#16
Tuotenumero4SVW00571000

NimikeUUSI NRO 4SV258021000

Hinta 75,25 €
Määrä

Korvaavat tuotteet
PISTON ASSY, CALIPER
Nro#
Tuotenumero4SV258021000

NimikePISTON ASSY, CALIPER

Hinta 82,65 €
Määrä
KTS UUSI NRO 3GM258031000
Nro#17
Tuotenumero3GMW00471000

NimikeKTS UUSI NRO 3GM258031000

Hinta 25,50 €
Määrä

Korvaavat tuotteet
CALIPER SEAL KIT
Nro#
Tuotenumero3GM258031000

NimikeCALIPER SEAL KIT

Hinta 25,60 €
Määrä
KTS UUSI NRO 4SV258050000
Nro#18
Tuotenumero4SVW00450000

NimikeKTS UUSI NRO 4SV258050000

Hinta 61,15 €
Määrä

Korvaavat tuotteet
JARRUPALAT
Nro#
Tuotenumero4SV258050000

NimikeJARRUPALAT

Hinta 64,05 €
Määrä
SUPPORT, PAD
Nro#19
Tuotenumero4SV259190000

NimikeSUPPORT, PAD

Hinta 18,50 €
Määrä
PIN, PAD
Nro#20
Tuotenumero4SV259240000

NimikePIN, PAD

Hinta 15,85 €
Määrä
CLIP, PAD PIN
Nro#21
Tuotenumero3GM259250000

NimikeCLIP, PAD PIN

Hinta 8,70 €
Määrä
BLEED SCREW KIT
Nro#22
Tuotenumero1J3W00480000

NimikeBLEED SCREW KIT

Hinta 14,80 €
Määrä

Korvaavat tuotteet
UUSI NRO 1J3W00480000
Nro#
Tuotenumero51HW00480000

NimikeUUSI NRO 1J3W00480000

Hinta 40,15 €
Määrä
BOLT, WASHER BASED
Nro#23
Tuotenumero90105105A700

NimikeBOLT, WASHER BASED

Hinta 10,15 €
Määrä