Kirjaudu
Kirjaudu sisään
Nakkilan pyörä ja mopo
Tuotekategoriat
Etusivu
Varaosaluettelot
Tarvikkeet
Varusteet
Tarjoukset
Ajoneuvot
Huolto
Yhteydenotto
Varaosa luettelot
Yamaha
600 cc
XJ6N
XJ6N 2011
Sylinterikansi
Kampiakseli ja mäntä
Venttiilit
Nokka-akseli ja ketju
Vesipumppu
Jäähdytin ja letkut
Öljypumppu
Oil cleaner
Ilmanotto
Imupuoli
Air induction system
Pakoputkisto
Kampikammio
Moottorin kopat
Starter
Kytkin
Vaihteisto
Vaihderumpu ja haarukat
Vaihdeakseli
Runko
Lokasuoja
Side cover
Side cover 2
Rear arm
Rear suspension
Ohjaus
Etuhaarukka
Fuel tank
Istuin
Etupyörä
Etujarrusatula
Takapyörä
Takajarrusatula
Ohjaustanko ja vaijerit
Etujarrun pääsylinteri
Seisontatuki ja jalkatapit
Takajarrun pääsylinteri
Laturi
Starttimoottori
Vilkku
Mittaristo
Ajovalo
Takavalo
Ohjaustangon katkaisija ja vivut
Sähköjestelmä 1
Sähköjestelmä 2
Varaosat tuoteryhmittäin
Tarvikkeet
Tarjoukset
Varusteet
Ajoneuvot
NÄYTÄ TUOTEKATEGORIAT
NPM.FI
Varaosa luettelot
Yamaha
600 cc
XJ6N
XJ6N 2011
Imupuoli
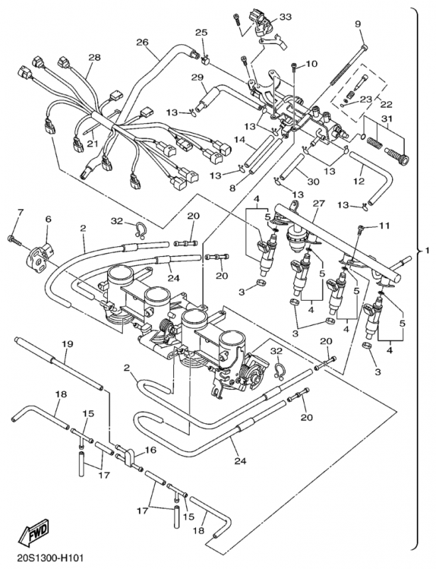
Imupuoli, XJ6N 2011, XJ6N, 600 cc, Yamaha -varaosa luettelot
Näytä suurempana
Nro
#1
Tuotenumero
20S137500000
Nimike
20S137500000
Hinta
0,00 €
Määrä
+
-
Nro
#2
Tuotenumero
5VX143480000
Nimike
PIPE 1
Hinta
29,90 €
Määrä
+
-
Nro
#3
Tuotenumero
8FP135560000
Nimike
GASKET, MANIFOLD
Hinta
10,40 €
Määrä
+
-
Nro
#4
Tuotenumero
5VX137610000
Nimike
INJECTOR ASSY
Hinta
293,75 €
Määrä
+
-
Nro
#5
Tuotenumero
5PS141470000
Nimike
O-RING
Hinta
12,15 €
Määrä
+
-
Nro
#6
Tuotenumero
2D1858850000
Nimike
THROTTLE SENSOR ASSY
Hinta
279,00 €
Lisätiedot
Määrä
+
-
Korvaavat tuotteet
Nro
#
Tuotenumero
5FL858850100
Nimike
UUSI NRO 2D1858850000
Hinta
303,85 €
Määrä
+
-
Nro
#
Tuotenumero
5FL858850200
Nimike
UUSI NRO 2D1858850000
Hinta
303,85 €
Määrä
+
-
Nro
#7
Tuotenumero
4KM244530000
Nimike
SCREW
Hinta
5,85 €
Määrä
+
-
Nro
#8
Tuotenumero
5VX141490000
Nimike
PIPE
Hinta
20,65 €
Määrä
+
-
Nro
#9
Tuotenumero
5VX145650000
Nimike
SCREW
Hinta
4,70 €
Määrä
+
-
Nro
#10
Tuotenumero
985070501000
Nimike
KTS UUSI NRO 985170501000
Hinta
0,95 €
Määrä
+
-
Nro
#11
Tuotenumero
985070601200
Nimike
KTS UUSI NRO 985170601200
Hinta
0,95 €
Määrä
+
-
Nro
#12
Tuotenumero
5VX143960000
Nimike
PIPE
Hinta
40,90 €
Määrä
+
-
Nro
#13
Tuotenumero
3UH149370000
Nimike
CLIP
Hinta
1,95 €
Määrä
+
-
Nro
#14
Tuotenumero
5VX149870000
Nimike
HOSE
Hinta
11,40 €
Määrä
+
-
Nro
#15
Tuotenumero
68V243760000
Nimike
PIPE, JOINT 1
Hinta
18,30 €
Määrä
+
-
Nro
#16
Tuotenumero
3XV142510000
Nimike
NIPPLE
Hinta
37,00 €
Määrä
+
-
Nro
#17
Tuotenumero
5FL143481000
Nimike
PIPE 1
Hinta
5,60 €
Määrä
+
-
Nro
#18
Tuotenumero
68V135330000
Nimike
HOSE, VACUUM SENSING 4
Hinta
14,35 €
Määrä
+
-
Nro
#19
Tuotenumero
5VX1410E0000
Nimike
HOSE
Hinta
31,50 €
Määrä
+
-
Nro
#20
Tuotenumero
5PW142510000
Nimike
NIPPLE
Hinta
4,30 €
Määrä
+
-
Nro
#21
Tuotenumero
4KM141370000
Nimike
CLIP
Hinta
11,95 €
Määrä
+
-
Nro
#22
Tuotenumero
5JW141040000
Nimike
. AIR SCREW SET
Hinta
31,10 €
Määrä
+
-
Nro
#23
Tuotenumero
3H1141470000
Nimike
O-RING
Hinta
11,40 €
Määrä
+
-
Nro
#24
Tuotenumero
5VX143490000
Nimike
PIPE
Hinta
29,45 €
Määrä
+
-
Nro
#25
Tuotenumero
904671109000
Nimike
UUSI NRO 904671013500
Hinta
2,80 €
Määrä
+
-
Nro
#26
Tuotenumero
20S1243E0000
Nimike
20S1243E0000
Hinta
0,00 €
Määrä
+
-
Nro
#27
Tuotenumero
5VX131600000
Nimike
DELIVERY PIPE ASSY 1
Hinta
74,10 €
Lisätiedot
Määrä
+
-
Korvaavat tuotteet
Nro
#
Tuotenumero
5VX139820000
Nimike
KTS UUSI NRO 5VX131600000
Hinta
74,10 €
Määrä
+
-
Nro
#28
Tuotenumero
20S823860000
Nimike
20S823860000
Hinta
0,00 €
Määrä
+
-
Nro
#29
Tuotenumero
5VX135330000
Nimike
HOSE, VACUUM SENSING 4
Hinta
44,85 €
Määrä
+
-
Nro
#30
Tuotenumero
5VX148070000
Nimike
HOSE
Hinta
11,95 €
Määrä
+
-
Nro
#31
Tuotenumero
5VX145030000
Nimike
ADJUST SCREW SET
Hinta
96,00 €
Määrä
+
-
Nro
#32
Tuotenumero
904642304100
Nimike
KTS UUSI NRO 904642526700
Hinta
1,55 €
Määrä
+
-
Nro
#33
Tuotenumero
5S7823800000
Nimike
SENSOR, PRESSURE
Hinta
295,15 €
Määrä
+
-