Kirjaudu
Kirjaudu sisään
Nakkilan pyörä ja mopo
Tuotekategoriat
Etusivu
Varaosaluettelot
Tarvikkeet
Varusteet
Tarjoukset
Ajoneuvot
Huolto
Yhteydenotto
Varaosa luettelot
Yamaha
660 cc
XT660
XT660R 2011
Sylinterikansi
Sylinteri
Kampiakseli ja mäntä
Venttiilit
Nokka-akseli ja ketju
Vesipumppu
Jäähdytin ja letkut
Öljypumppu
Ilmanotto
Imupuoli
Pakoputkisto
Kampikammio
Moottorin kopat
Starttikytkin
Kytkin
Vaihteisto
Vaihderumpu ja haarukat
Vaihdeakseli
Runko
Lokasuoja
Side cover
Rear arm
Rear suspension
Ohjaus
Etuhaarukka
Fuel tank
Istuin
Etupyörä
Etujarrusatula
Takapyörä
Takajarrusatula
Ohjaustanko ja vaijerit
Etujarrun pääsylinteri
Seisontatuki ja jalkatapit
Takajarrun pääsylinteri
Cowling 1
Laturi
Vilkku
Mittaristo
Ajovalo
Takavalo
Ohjaustangon katkaisija ja vivut
Sähköjestelmä 1
Sähköjestelmä 2
Varaosat tuoteryhmittäin
Tarvikkeet
Tarjoukset
Varusteet
Ajoneuvot
NÄYTÄ TUOTEKATEGORIAT
NPM.FI
Varaosa luettelot
Yamaha
660 cc
XT660
XT660R 2011
Jäähdytin ja letkut
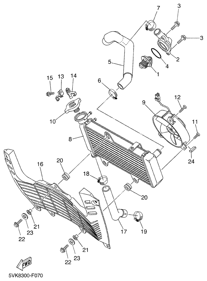
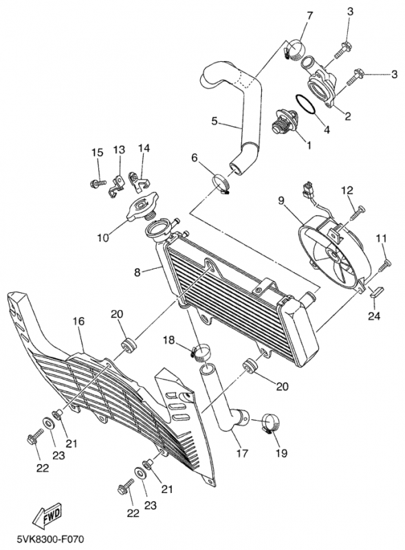
Jäähdytin ja letkut, XT660R 2011, XT660, 660 cc, Yamaha -varaosa luettelot
Näytä suurempana
Nro
#1
Tuotenumero
5VK124100000
Nimike
THERMOSTAT ASSY
Hinta
74,30 €
Lisätiedot
Määrä
+
-
Korvaavat tuotteet
Nro
#
Tuotenumero
5VK124100100
Nimike
THERMOSTAT ASSY
Hinta
72,35 €
Määrä
+
-
Nro
#2
Tuotenumero
5VKE24130000
Nimike
KTS UUSI NRO 5VKE24131000
Hinta
78,40 €
Lisätiedot
Määrä
+
-
Korvaavat tuotteet
Nro
#
Tuotenumero
5VKE24131000
Nimike
COVER, THERMOSTAT
Hinta
55,35 €
Määrä
+
-
Nro
#3
Tuotenumero
950270602000
Nimike
BOLT,FLANGE
Hinta
0,70 €
Määrä
+
-
Nro
#4
Tuotenumero
9321041X0000
Nimike
O-RING
Hinta
0,70 €
Määrä
+
-
Nro
#5
Tuotenumero
5VKE25781000
Nimike
KTS UUSI NRO 5VK125780000
Hinta
66,45 €
Lisätiedot
Määrä
+
-
Korvaavat tuotteet
Nro
#
Tuotenumero
5VK125780000
Nimike
HOSE 3
Hinta
66,45 €
Määrä
+
-
Nro
#6
Tuotenumero
9045032X0400
Nimike
KTS UUSI NRO 904602019000
Hinta
11,40 €
Määrä
+
-
Nro
#7
Tuotenumero
9045032X0400
Nimike
KTS UUSI NRO 904602019000
Hinta
11,40 €
Määrä
+
-
Nro
#8
Tuotenumero
5VKE24610000
Nimike
UUSI NRO 5VKE24612900
Hinta
451,30 €
Lisätiedot
Määrä
+
-
Korvaavat tuotteet
Nro
#
Tuotenumero
5VKE24612000
Nimike
UUSI NRO 5VKE24612900
Hinta
451,30 €
Määrä
+
-
Nro
#9
Tuotenumero
5VKE24050000
Nimike
BLOWER ASSY
Hinta
533,25 €
Määrä
+
-
Nro
#10
Tuotenumero
5VKE24620000
Nimike
CAP, RADIATOR
Hinta
44,15 €
Lisätiedot
Määrä
+
-
Korvaavat tuotteet
Nro
#
Tuotenumero
5BKE24620000
Nimike
KTS UUSI NRO 5VKE24620000
Hinta
44,15 €
Määrä
+
-
Nro
#11
Tuotenumero
901690580200
Nimike
TAPPING SCREW
Hinta
5,55 €
Määrä
+
-
Nro
#12
Tuotenumero
901690580100
Nimike
TAPPING SCREW
Hinta
1,45 €
Määrä
+
-
Nro
#13
Tuotenumero
5VKE24370000
Nimike
STOPPER
Hinta
21,15 €
Määrä
+
-
Nro
#14
Tuotenumero
5VKE24371000
Nimike
STOPPER
Hinta
21,15 €
Määrä
+
-
Nro
#15
Tuotenumero
958070601000
Nimike
UUSI NRO 958170601000
Hinta
0,95 €
Määrä
+
-
Nro
#16
Tuotenumero
5VKE24980000
Nimike
PROTECTOR
Hinta
56,60 €
Määrä
+
-
Nro
#17
Tuotenumero
5VKE25791000
Nimike
KTS UUSI NRO 5VK125790000
Hinta
29,75 €
Lisätiedot
Määrä
+
-
Korvaavat tuotteet
Nro
#
Tuotenumero
5VK125790000
Nimike
HOSE 4
Hinta
28,05 €
Määrä
+
-
Nro
#18
Tuotenumero
9045032X0400
Nimike
KTS UUSI NRO 904602019000
Hinta
11,40 €
Määrä
+
-
Nro
#19
Tuotenumero
9045032X0400
Nimike
KTS UUSI NRO 904602019000
Hinta
11,40 €
Määrä
+
-
Nro
#20
Tuotenumero
904801827600
Nimike
GROMMET
Hinta
1,80 €
Määrä
+
-
Nro
#21
Tuotenumero
903870604200
Nimike
COLLAR
Hinta
6,95 €
Määrä
+
-
Nro
#22
Tuotenumero
970070602500
Nimike
UUSI NRO 970170602500
Hinta
1,40 €
Määrä
+
-
Nro
#23
Tuotenumero
929070660000
Nimike
WASHER(6TA)
Hinta
0,95 €
Määrä
+
-
Nro
#24
Tuotenumero
1FK845270000
Nimike
UUSI NRO 1HX282270000
Hinta
7,75 €
Lisätiedot
Määrä
+
-
Korvaavat tuotteet
Nro
#
Tuotenumero
1HX282270000
Nimike
DAMPER 2
Hinta
7,75 €
Määrä
+
-