Kirjaudu
Kirjaudu sisään
Nakkilan pyörä ja mopo
Tuotekategoriat
Etusivu
Varaosaluettelot
Tarvikkeet
Varusteet
Tarjoukset
Ajoneuvot
Huolto
Yhteydenotto
Varaosa luettelot
Yamaha
85 - 90 cc
YZ85
YZ85LW 2011
Sylinteri
Kampiakseli ja mäntä
Vesipumppu
Jäähdytin ja letkut
Ilmanotto
Kaasutin
Pakoputkisto
Kampikammio
Moottorin kopat
Käynnistin
Kytkin
Vaihteisto
Vaihderumpu ja haarukat
Vaihdeakseli
Runko
Lokasuoja
Sivupaneelit
Takahaarukka
Takajousitus
Ohjaus
Etuhaarukka
Tankki
Istuin
Etupyörä
Etujarrusatula
Takapyörä
Takajarrusatula
Ohjaustanko ja vaijerit
Etujarrun pääsylinteri
Seisontatuki ja jalkatapit
Takajarrun pääsylinteri
Laturi
Ohjaustangon katkaisija ja vivut
Sähköjestelmä 1
Vaihtoehtoiset osat
Vaihtoehtoiset osat
Varaosat tuoteryhmittäin
Tarvikkeet
Tarjoukset
Varusteet
Ajoneuvot
NÄYTÄ TUOTEKATEGORIAT
NPM.FI
Varaosa luettelot
Yamaha
85 - 90 cc
YZ85
YZ85LW 2011
Etujarrun pääsylinteri
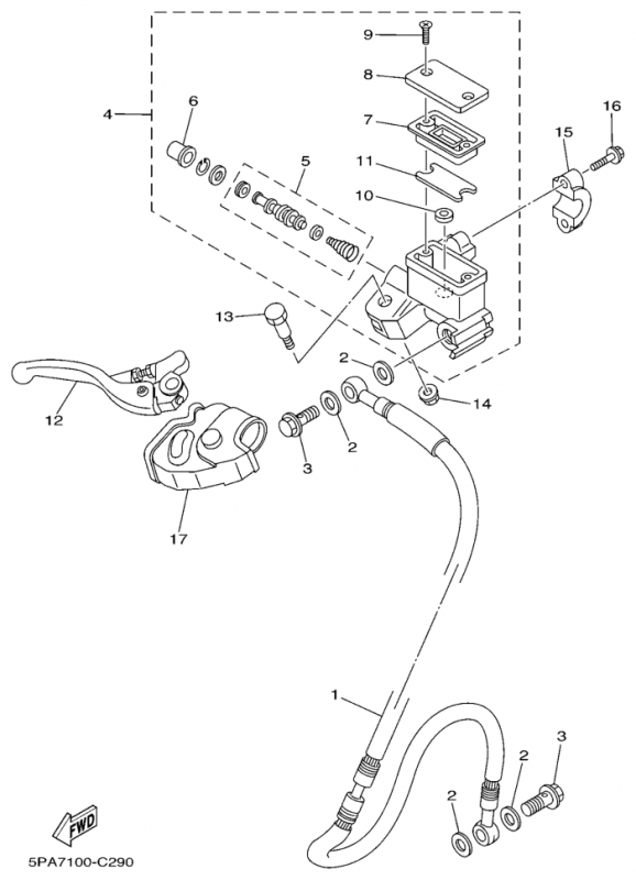
Etujarrun pääsylinteri, YZ85LW 2011, YZ85, 85 - 90 cc, Yamaha -varaosa luettelot
Näytä suurempana
Nro
#1
Tuotenumero
4ES258721100
Nimike
HOSE, BRAKE 1
Hinta
282,90 €
Lisätiedot
Määrä
+
-
Korvaavat tuotteet
Nro
#
Tuotenumero
4ES258721000
Nimike
UUSI NRO 4ES258721100
Hinta
282,90 €
Määrä
+
-
Nro
#1
Tuotenumero
5SH258720100
Nimike
5SH258720100
Hinta
0,00 €
Määrä
+
-
Nro
#2
Tuotenumero
904301000500
Nimike
GASKET
Hinta
3,85 €
Määrä
+
-
Nro
#3
Tuotenumero
904011016800
Nimike
KTS UUSI NRO 904011017200
Hinta
7,45 €
Määrä
+
-
Nro
#4
Tuotenumero
5XEW25870000
Nimike
KTS UUSI NRO 5XEW25870100
Hinta
224,60 €
Määrä
+
-
Nro
#5
Tuotenumero
5NYW00410000
Nimike
KTS UUSI NRO 5NYW00410100
Hinta
81,75 €
Lisätiedot
Määrä
+
-
Korvaavat tuotteet
Nro
#
Tuotenumero
5NYW00410100
Nimike
CYLINDER KIT, MASTER
Hinta
81,75 €
Määrä
+
-
Nro
#6
Tuotenumero
5NY258680000
Nimike
BOOT, MASTER CYLINDER
Hinta
8,00 €
Määrä
+
-
Nro
#7
Tuotenumero
5XE258540000
Nimike
DIAPHRAGM, RESERVOIR
Hinta
17,35 €
Määrä
+
-
Nro
#8
Tuotenumero
5MV258520100
Nimike
CAP, RESERVOIR
Hinta
39,25 €
Määrä
+
-
Nro
#9
Tuotenumero
987060401200
Nimike
UUSI NRO 987070401200
Hinta
1,50 €
Lisätiedot
Määrä
+
-
Korvaavat tuotteet
Nro
#
Tuotenumero
987070401200
Nimike
SCREW,FLAT
Hinta
1,50 €
Määrä
+
-
Nro
#10
Tuotenumero
5CG257150000
Nimike
SEPARATOR ASSY
Hinta
8,45 €
Määrä
+
-
Nro
#11
Tuotenumero
5XE258530000
Nimike
FLOAT, RESERVOIR
Hinta
4,05 €
Määrä
+
-
Nro
#12
Tuotenumero
5MV839220000
Nimike
LEVER 2
Hinta
27,35 €
Määrä
+
-
Nro
#13
Tuotenumero
5MV2589F0000
Nimike
BOLT,LEVER
Hinta
8,40 €
Määrä
+
-
Nro
#14
Tuotenumero
957010650000
Nimike
UUSI NRO 957800650000
Hinta
3,15 €
Lisätiedot
Määrä
+
-
Korvaavat tuotteet
Nro
#
Tuotenumero
957800650000
Nimike
MUTTERI
Hinta
2,00 €
Määrä
+
-
Nro
#15
Tuotenumero
5MV258670000
Nimike
BRACKET,MASTERCYLINDER
Hinta
21,85 €
Määrä
+
-
Nro
#16
Tuotenumero
5MV258330000
Nimike
BOLT,FITTING
Hinta
1,50 €
Määrä
+
-
Nro
#17
Tuotenumero
5NY263720000
Nimike
COVER, HANDLE LEVER 1
Hinta
20,00 €
Määrä
+
-