Kirjaudu
Kirjaudu sisään
Nakkilan pyörä ja mopo
Tuotekategoriat
Etusivu
Varaosaluettelot
Tarvikkeet
Varusteet
Tarjoukset
Ajoneuvot
Huolto
Yhteydenotto
Varaosa luettelot
Yamaha
85 - 90 cc
YZ85
YZ85LW 2018
Sylinteri
Kampiakseli ja mäntä
Vesipumppu
Jäähdytin ja letkut
Ilmanotto
Kaasutin
Pakoputkisto
Kampikammio
Moottorin kopat
Käynnistin
Kytkin
Vaihteisto
Vaihderumpu ja haarukat
Vaihdeakseli
Runko
Lokasuoja
Sivupaneelit
Takahaarukka
Takajousitus
Ohjaus
Etuhaarukka
Tankki
Istuin
Etupyörä
Etujarrusatula
Takapyörä
Takajarrusatula
Ohjaustanko ja vaijerit
Etujarrun pääsylinteri
Seisontatuki ja jalkatapit
Takajarrun pääsylinteri
Laturi
Ohjaustangon katkaisija ja vivut
Sähköjestelmä 1
Vaihtoehtoiset osat
Vaihtoehtoiset osat
Varaosat tuoteryhmittäin
Tarvikkeet
Tarjoukset
Varusteet
Ajoneuvot
NÄYTÄ TUOTEKATEGORIAT
NPM.FI
Varaosa luettelot
Yamaha
85 - 90 cc
YZ85
YZ85LW 2018
Kampiakseli ja mäntä
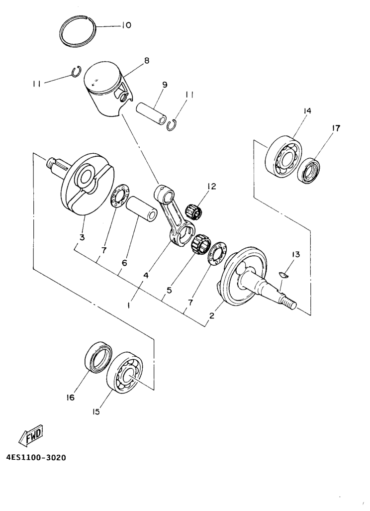
Kampiakseli ja mäntä, YZ85LW 2018, YZ85, 85 - 90 cc, Yamaha -varaosa luettelot
Näytä suurempana
Nro
#1
Tuotenumero
5PA114000000
Nimike
CRANKSHAFT ASSY
Hinta
472,25 €
Määrä
+
-
Nro
#2
Tuotenumero
5PA114120000
Nimike
. CRANK 1
Hinta
248,05 €
Määrä
+
-
Nro
#3
Tuotenumero
5PA114220000
Nimike
. CRANK 2
Hinta
190,10 €
Määrä
+
-
Nro
#4
Tuotenumero
4ES116511000
Nimike
ROD, CONNECTING
Hinta
86,95 €
Lisätiedot
Määrä
+
-
Korvaavat tuotteet
Nro
#
Tuotenumero
4ES116510100
Nimike
KTS UUSI NRO 4ES116511000
Hinta
86,95 €
Määrä
+
-
Nro
#5
Tuotenumero
93310420B100
Nimike
BEARING
Hinta
64,15 €
Määrä
+
-
Nro
#6
Tuotenumero
2RA116810000
Nimike
PIN, CRANK
Hinta
79,55 €
Määrä
+
-
Nro
#7
Tuotenumero
902092015900
Nimike
KK-VÄLILEVY
Hinta
8,30 €
Määrä
+
-
Nro
#8
Tuotenumero
5PA1163100A0
Nimike
KTS UUSI NRO 5PA1163110A0
Hinta
105,30 €
Lisätiedot
Määrä
+
-
Korvaavat tuotteet
Nro
#
Tuotenumero
MIT-01.2113.A
Nimike
YZ85 47.44 A
Hinta
94,60 €
Määrä
Valitse koko
A=47.44
B=47.45
C=47.46
D=47.47
+050=48.00
+100=48.50
Lisää koriin
Nro
#8
Tuotenumero
5PA1163100B0
Nimike
KTS UUSI NRO 5PA1163110B0
Hinta
105,30 €
Lisätiedot
Määrä
+
-
Korvaavat tuotteet
Nro
#
Tuotenumero
MIT-01.2113.B
Nimike
MÄNTÄ YZ85 47.45
Hinta
94,60 €
Määrä
Valitse koko
A=47.44
B=47.45
C=47.46
D=47.47
+050=48.00
+100=48.50
Lisää koriin
Nro
#8
Tuotenumero
5PA1163100C0
Nimike
KTS UUSI NRO 5PA1163110C0
Hinta
105,30 €
Lisätiedot
Määrä
+
-
Korvaavat tuotteet
Nro
#
Tuotenumero
MIT-01.2113.C
Nimike
YZ85 47.46 91.2113.C
Hinta
94,60 €
Määrä
+
-
Nro
#8
Tuotenumero
5PA1163100D0
Nimike
KTS UUSI NRO 5PA1163110D0
Hinta
105,30 €
Lisätiedot
Määrä
+
-
Korvaavat tuotteet
Nro
#
Tuotenumero
MIT-01.2113.D
Nimike
YZ85 47.47mm 91.2113.D
Hinta
94,60 €
Määrä
+
-
Nro
#9
Tuotenumero
4ES116330000
Nimike
PIN, PISTON
Hinta
30,45 €
Määrä
+
-
Nro
#10
Tuotenumero
5PA116110000
Nimike
RING, PISTON
Hinta
47,25 €
Määrä
+
-
Nro
#11
Tuotenumero
934501611500
Nimike
CIRCLIP(1HX)
Hinta
0,95 €
Määrä
+
-
Nro
#12
Tuotenumero
933102141700
Nimike
BEARING
Hinta
29,80 €
Lisätiedot
Määrä
+
-
Korvaavat tuotteet
Nro
#
Tuotenumero
MNB140180165
Nimike
NEULALAAKERI 14X18X16,5
Hinta
13,20 €
Määrä
+
-
Nro
#13
Tuotenumero
902800304500
Nimike
UUSI NRO 902800301700
Hinta
3,15 €
Määrä
+
-
Nro
#14
Tuotenumero
933062043800
Nimike
UUSI NRO 933062046800
Hinta
48,85 €
Lisätiedot
Määrä
+
-
Korvaavat tuotteet
Nro
#
Tuotenumero
6204C3
Nimike
LAAKERI 20X47X14 C3
Hinta
10,05 €
Määrä
+
-
Nro
#15
Tuotenumero
933063042100
Nimike
KTS UUSI NRO 933063043900
Hinta
47,95 €
Lisätiedot
Määrä
+
-
Korvaavat tuotteet
Nro
#
Tuotenumero
933063044200
Nimike
LAAKERI 6304YA1-9TC4
Hinta
47,95 €
Määrä
+
-
Nro
#16
Tuotenumero
931022800900
Nimike
OIL SEAL
Hinta
15,80 €
Määrä
+
-
Nro
#17
Tuotenumero
931022044700
Nimike
STEFA 20X40X8
Hinta
15,30 €
Lisätiedot
Määrä
+
-
Korvaavat tuotteet
Nro
#
Tuotenumero
M730901125000
Nimike
ÖLJYTIIVISTE SD 20X40X8
Hinta
10,15 €
Määrä
+
-