Kirjaudu
Kirjaudu sisään
Nakkilan pyörä ja mopo
Tuotekategoriat
Etusivu
Varaosaluettelot
Tarvikkeet
Varusteet
Tarjoukset
Ajoneuvot
Huolto
Yhteydenotto
Varaosa luettelot
Yamaha
85 - 90 cc
YZ85
YZ85LW 2018
Sylinteri
Kampiakseli ja mäntä
Vesipumppu
Jäähdytin ja letkut
Ilmanotto
Kaasutin
Pakoputkisto
Kampikammio
Moottorin kopat
Käynnistin
Kytkin
Vaihteisto
Vaihderumpu ja haarukat
Vaihdeakseli
Runko
Lokasuoja
Sivupaneelit
Takahaarukka
Takajousitus
Ohjaus
Etuhaarukka
Tankki
Istuin
Etupyörä
Etujarrusatula
Takapyörä
Takajarrusatula
Ohjaustanko ja vaijerit
Etujarrun pääsylinteri
Seisontatuki ja jalkatapit
Takajarrun pääsylinteri
Laturi
Ohjaustangon katkaisija ja vivut
Sähköjestelmä 1
Vaihtoehtoiset osat
Vaihtoehtoiset osat
Varaosat tuoteryhmittäin
Tarvikkeet
Tarjoukset
Varusteet
Ajoneuvot
NÄYTÄ TUOTEKATEGORIAT
NPM.FI
Varaosa luettelot
Yamaha
85 - 90 cc
YZ85
YZ85LW 2018
Ohjaus
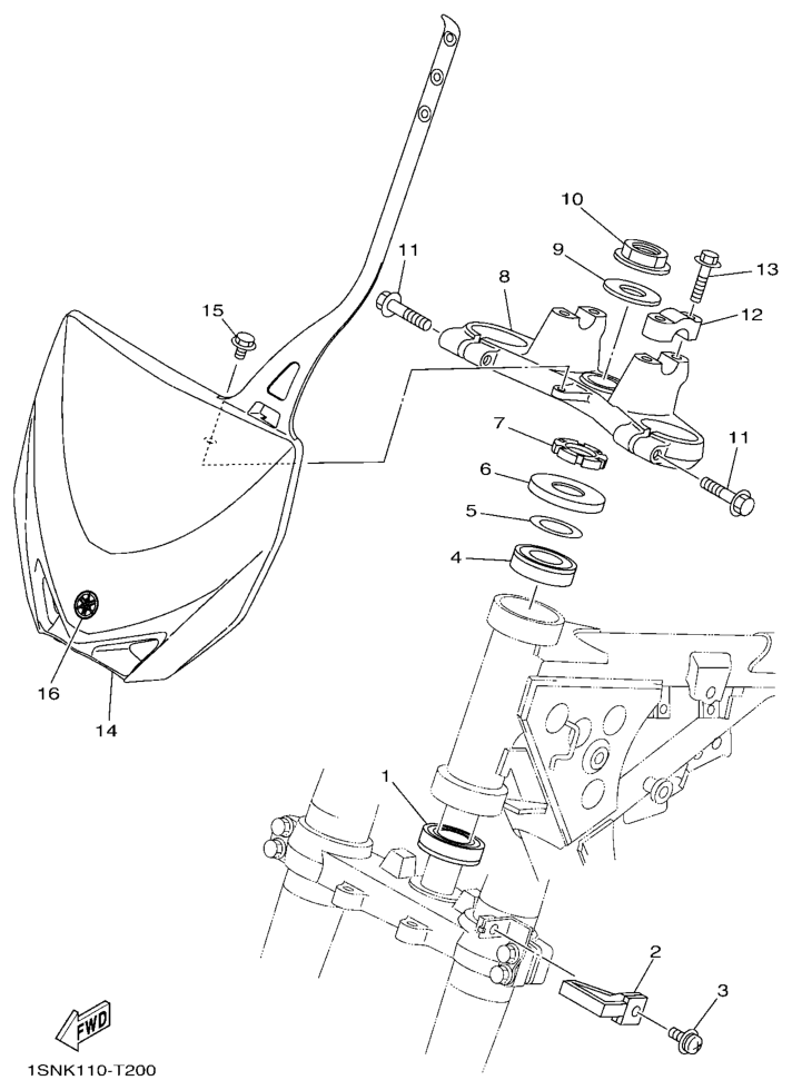
Ohjaus, YZ85LW 2018, YZ85, 85 - 90 cc, Yamaha -varaosa luettelot
Näytä suurempana
Nro
#1
Tuotenumero
933320007900
Nimike
BEARING FZR1000 -91
Hinta
90,10 €
Määrä
+
-
Nro
#2
Tuotenumero
4DA233890000
Nimike
GUIDE,CABLE
Hinta
24,85 €
Määrä
+
-
Nro
#3
Tuotenumero
901570502900
Nimike
UUSI NRO 985800501400
Hinta
2,05 €
Määrä
+
-
Nro
#4
Tuotenumero
933320007900
Nimike
BEARING FZR1000 -91
Hinta
90,10 €
Määrä
+
-
Nro
#5
Tuotenumero
90201256K500
Nimike
WASHER, PLATE
Hinta
5,55 €
Määrä
+
-
Nro
#6
Tuotenumero
1J7234150000
Nimike
COVER, BALL RACE 1
Hinta
4,60 €
Määrä
+
-
Nro
#7
Tuotenumero
901792500400
Nimike
MUTTERI
Hinta
5,90 €
Määrä
+
-
Nro
#8
Tuotenumero
1SN234351000
Nimike
1SN234351000
Hinta
0,00 €
Määrä
+
-
Nro
#9
Tuotenumero
90201220T000
Nimike
KTS UUSI NRO 902012201800
Hinta
6,35 €
Lisätiedot
Määrä
+
-
Korvaavat tuotteet
Nro
#
Tuotenumero
902012201800
Nimike
WASHER PLATE
Hinta
6,35 €
Määrä
+
-
Nro
#10
Tuotenumero
901792202500
Nimike
NUT
Hinta
12,75 €
Määrä
+
-
Nro
#11
Tuotenumero
950220804000
Nimike
BOLT,FLANGE
Hinta
0,70 €
Määrä
+
-
Nro
#12
Tuotenumero
1E62344110P0
Nimike
HOLDER, HANDLE UPPER
Hinta
35,25 €
Määrä
+
-
Nro
#13
Tuotenumero
950220803000
Nimike
BOLT, FLANGE
Hinta
1,50 €
Määrä
+
-
Nro
#14
Tuotenumero
1SN234850100
Nimike
PLATE, NUMBER
Hinta
60,75 €
Määrä
+
-
Nro
#15
Tuotenumero
901050606400
Nimike
BOLT, FLANGE
Hinta
1,05 €
Määrä
+
-
Nro
#16
Tuotenumero
5FK2175C3000
Nimike
TUNING FORK MARK
Hinta
13,40 €
Määrä
+
-