Kirjaudu
Kirjaudu sisään
Nakkilan pyörä ja mopo
Tuotekategoriat
Etusivu
Varaosaluettelot
Tarvikkeet
Varusteet
Tarjoukset
Ajoneuvot
Huolto
Yhteydenotto
Varaosa luettelot
Yamaha
900 cc
MT09 TRACER
MT09A TRACER 2015
Sylinterikansi
Kampiakseli ja mäntä
Venttiilit
Nokka-akseli ja ketju
Vesipumppu
Jäähdytin ja letkut
Öljypumppu
Oil cleaner
Ilmanotto
Imupuoli
Air induction system
Pakoputkisto
Kampikammio
Moottorin kopat
Starter
Kytkin
Vaihteisto
Vaihderumpu ja haarukat
Vaihdeakseli
Runko
Lokasuoja
Side cover
Rear arm
Rear suspension
Ohjaus
Etuhaarukka
Fuel tank
Istuin
Etupyörä
Etujarrusatula
Takapyörä
Takajarrusatula
Ohjaustanko ja vaijerit
Etujarrun pääsylinteri
Seisontatuki ja jalkatapit
Takajarrun pääsylinteri
Tuulilasi
Kate
Laturi
Starttimoottori
Vilkku
Mittaristo
Ajovalo
Takavalo
Ohjaustangon katkaisija ja vivut
Sähköjestelmä 1
Sähköjestelmä 2
Sähköjestelmä 3
Varaosat tuoteryhmittäin
Tarvikkeet
Tarjoukset
Varusteet
Ajoneuvot
NÄYTÄ TUOTEKATEGORIAT
NPM.FI
Varaosa luettelot
Yamaha
900 cc
MT09 TRACER
MT09A TRACER 2015
Moottorin kopat
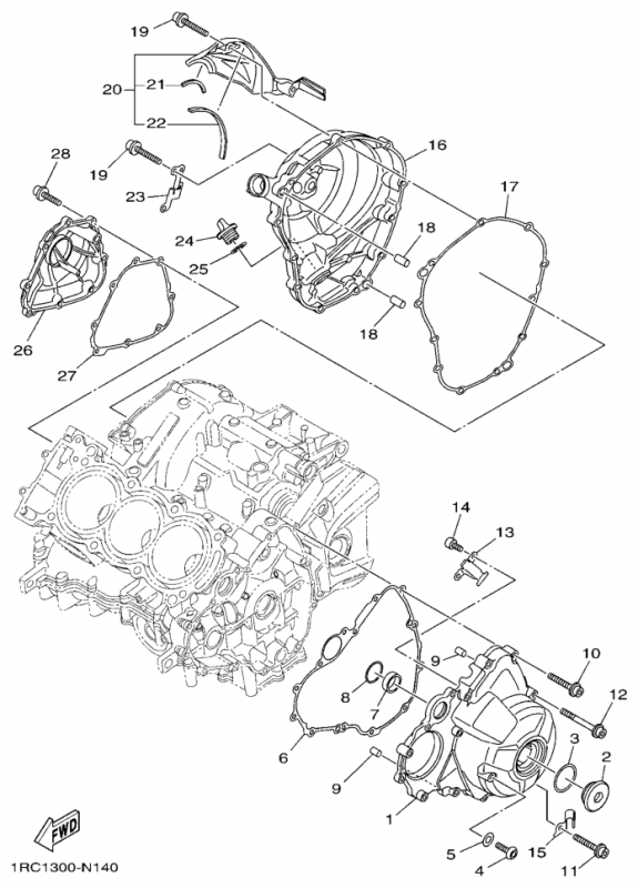
Moottorin kopat, MT09A TRACER 2015, MT09 TRACER, 900 cc, Yamaha -varaosa luettelot
Näytä suurempana
Nro
#1
Tuotenumero
1RC154110000
Nimike
1RC154110000
Hinta
0,00 €
Määrä
+
-
Nro
#2
Tuotenumero
903403600500
Nimike
PLUG, STRAIGHT SCREW
Hinta
30,90 €
Määrä
+
-
Nro
#3
Tuotenumero
93210357A300
Nimike
O-RING
Hinta
14,30 €
Lisätiedot
Määrä
+
-
Korvaavat tuotteet
Nro
#
Tuotenumero
M752603137004
Nimike
O-RENGAS NBR70 09280-35005
Hinta
5,10 €
Määrä
+
-
Nro
#4
Tuotenumero
920170801200
Nimike
BOLT, BUTTON HEAD
Hinta
1,35 €
Määrä
+
-
Nro
#5
Tuotenumero
904300814300
Nimike
GASKET M700108013015
Hinta
2,65 €
Lisätiedot
Määrä
+
-
Korvaavat tuotteet
Nro
#
Tuotenumero
M700108013015
Nimike
KUPARITIIVISTE 8X13X1,5
Hinta
2,55 €
Määrä
+
-
Nro
#6
Tuotenumero
1RC154510000
Nimike
1RC154510000
Hinta
0,00 €
Määrä
+
-
Nro
#7
Tuotenumero
1RC125640000
Nimike
1RC125640000
Hinta
0,00 €
Määrä
+
-
Nro
#8
Tuotenumero
932102854300
Nimike
932102854300
Hinta
0,00 €
Määrä
+
-
Nro
#9
Tuotenumero
995300801200
Nimike
PIN,DOWEL
Hinta
1,55 €
Määrä
+
-
Nro
#10
Tuotenumero
901100638800
Nimike
BOLT, HEXAGON SOCKET HEAD
Hinta
1,75 €
Määrä
+
-
Nro
#11
Tuotenumero
901100638900
Nimike
KTS UUSI NRO 901100638800
Hinta
1,75 €
Määrä
+
-
Nro
#12
Tuotenumero
901100639400
Nimike
901100639400
Hinta
0,00 €
Määrä
+
-
Nro
#13
Tuotenumero
1RC154840000
Nimike
1RC154840000
Hinta
0,00 €
Määrä
+
-
Nro
#14
Tuotenumero
901100616800
Nimike
KTS UUSI NRO 913120601400
Hinta
1,50 €
Lisätiedot
Määrä
+
-
Korvaavat tuotteet
Nro
#
Tuotenumero
9011006X2600
Nimike
BOLT, HEXAGON SOCKET HEAD(M01)
Hinta
1,05 €
Määrä
+
-
Nro
#15
Tuotenumero
1RC151990000
Nimike
1RC151990000
Hinta
0,00 €
Määrä
+
-
Nro
#16
Tuotenumero
1RC154210000
Nimike
1RC154210000
Hinta
0,00 €
Määrä
+
-
Nro
#17
Tuotenumero
1RC154610000
Nimike
1RC154610000
Hinta
0,00 €
Määrä
+
-
Nro
#18
Tuotenumero
936102018900
Nimike
PIN, DOWEL(72M)
Hinta
5,55 €
Määrä
+
-
Nro
#19
Tuotenumero
901100638800
Nimike
BOLT, HEXAGON SOCKET HEAD
Hinta
1,75 €
Määrä
+
-
Nro
#20
Tuotenumero
1RC154900000
Nimike
1RC154900000
Hinta
0,00 €
Määrä
+
-
Nro
#21
Tuotenumero
1RC157890000
Nimike
1RC157890000
Hinta
0,00 €
Määrä
+
-
Nro
#22
Tuotenumero
905200301400
Nimike
905200301400
Hinta
0,00 €
Määrä
+
-
Nro
#23
Tuotenumero
1RC151910000
Nimike
1RC151910000
Hinta
0,00 €
Määrä
+
-
Nro
#24
Tuotenumero
5GJ153631000
Nimike
5GJ153631000
Hinta
0,00 €
Määrä
+
-
Nro
#25
Tuotenumero
932101912300
Nimike
O-RING (656)
Hinta
5,45 €
Lisätiedot
Määrä
+
-
Korvaavat tuotteet
Nro
#
Tuotenumero
M752501900004
Nimike
O-RENGAS 19,00X2.5
Hinta
1,05 €
Määrä
+
-
Nro
#26
Tuotenumero
1RC154160000
Nimike
1RC154160000
Hinta
0,00 €
Määrä
+
-
Nro
#27
Tuotenumero
1RC154560000
Nimike
1RC154560000
Hinta
0,00 €
Määrä
+
-
Nro
#28
Tuotenumero
901100639600
Nimike
BOLT, HEXAGON SOCKET HEAD
Hinta
2,20 €
Määrä
+
-