Kirjaudu
Kirjaudu sisään
Nakkilan pyörä ja mopo
Tuotekategoriat
Etusivu
Varaosaluettelot
Tarvikkeet
Varusteet
Tarjoukset
Ajoneuvot
Huolto
Yhteydenotto
Varaosa luettelot
Yamaha
900 cc
MT09 TRACER
MT09A TRACER GT+ 2023
Periodic maintenance parts
Sylinterikansi
Kampiakseli ja mäntä
Venttiilit
Nokka-akseli ja ketju
Vesipumppu
Jäähdytin ja letkut
Öljypumppu
Oil cleaner
Ilmanotto
Imupuoli
Pakoputkisto
Kampikammio
Moottorin kopat
Starter
Kytkin
Vaihteisto
Vaihderumpu ja haarukat
Vaihdeakseli
Runko
Lokasuoja
Side cover
Rear arm
Rear suspension
Ohjaus
Etuhaarukka
Fuel tank
Fuel tank 2
Istuin
Etupyörä
Etujarrusatula
Takapyörä
Takajarrusatula
Ohjaustanko ja vaijerit
Etujarrun pääsylinteri
Seisontatuki ja jalkatapit
Takajarrun pääsylinteri
Tuulilasi
Kate
Laturi
Starttimoottori
Vilkku
Mittaristo
Ajovalo
Takavalo
Ohjaustangon katkaisija ja vivut
Sähköjestelmä 1
Sähköjestelmä 2
Sähköjestelmä 3
Varaosat tuoteryhmittäin
Tarvikkeet
Tarjoukset
Varusteet
Ajoneuvot
NÄYTÄ TUOTEKATEGORIAT
NPM.FI
Varaosa luettelot
Yamaha
900 cc
MT09 TRACER
MT09A TRACER GT+ 2023
Etujarrusatula
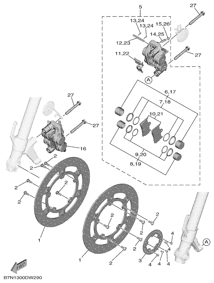
Etujarrusatula, MT09A TRACER GT+ 2023, MT09 TRACER, 900 cc, Yamaha -varaosa luettelot
Näytä suurempana
Nro
#1
Tuotenumero
1RC2581T0000
Nimike
DISK BRAKE ASSY
Hinta
137,35 €
Määrä
+
-
Nro
#2
Tuotenumero
90109064G600
Nimike
KTS UUSI NRO 901090625400
Hinta
2,80 €
Lisätiedot
Määrä
+
-
Korvaavat tuotteet
Nro
#
Tuotenumero
901090625400
Nimike
BOLT
Hinta
2,80 €
Määrä
+
-
Nro
#3
Tuotenumero
1SD2517G0000
Nimike
1SD2517G0000
Hinta
0,00 €
Määrä
+
-
Nro
#4
Tuotenumero
901490502900
Nimike
KTS UUSI NRO 901490503000
Hinta
3,45 €
Määrä
+
-
Nro
#5
Tuotenumero
1RC2580T0000
Nimike
1RC2580T0000
Hinta
0,00 €
Määrä
+
-
Nro
#6
Tuotenumero
4SV258021000
Nimike
PISTON ASSY, CALIPER
Hinta
82,65 €
Lisätiedot
Määrä
+
-
Korvaavat tuotteet
Nro
#
Tuotenumero
4SVW00571000
Nimike
UUSI NRO 4SV258021000
Hinta
75,25 €
Määrä
+
-
Nro
#7
Tuotenumero
3GM258031000
Nimike
CALIPER SEAL KIT
Hinta
25,60 €
Lisätiedot
Määrä
+
-
Korvaavat tuotteet
Nro
#
Tuotenumero
3GMW00471000
Nimike
KTS UUSI NRO 3GM258031000
Hinta
25,50 €
Määrä
+
-
Nro
#8
Tuotenumero
4SV258020000
Nimike
PISTON ASSY, CALIPER
Hinta
82,65 €
Lisätiedot
Määrä
+
-
Korvaavat tuotteet
Nro
#
Tuotenumero
4SVW00570000
Nimike
UUSI NRO 4SV258020000
Hinta
159,15 €
Määrä
+
-
Nro
#9
Tuotenumero
3MA258031000
Nimike
CALIPER SEAL KIT
Hinta
25,60 €
Lisätiedot
Määrä
+
-
Korvaavat tuotteet
Nro
#
Tuotenumero
3MAW00471000
Nimike
KTS UUSI NRO 3MA258031000
Hinta
25,50 €
Määrä
+
-
Nro
#10
Tuotenumero
5SL258050000
Nimike
BRAKE PAD KIT
Hinta
65,25 €
Määrä
+
-
Nro
#11
Tuotenumero
13S259190000
Nimike
SUPPORT, PAD
Hinta
18,85 €
Määrä
+
-
Nro
#12
Tuotenumero
4SV259240000
Nimike
PIN, PAD
Hinta
15,85 €
Määrä
+
-
Nro
#13
Tuotenumero
3GM259250000
Nimike
CLIP, PAD PIN
Hinta
8,70 €
Määrä
+
-
Nro
#14
Tuotenumero
1J3258240000
Nimike
SCREW, BLEED
Hinta
6,70 €
Määrä
+
-
Nro
#15
Tuotenumero
306258250100
Nimike
CAP
Hinta
5,25 €
Määrä
+
-
Nro
#16
Tuotenumero
1RC2580U0000
Nimike
1RC2580U0000
Hinta
0,00 €
Määrä
+
-
Nro
#17
Tuotenumero
4SV258021000
Nimike
PISTON ASSY, CALIPER
Hinta
82,65 €
Lisätiedot
Määrä
+
-
Korvaavat tuotteet
Nro
#
Tuotenumero
4SVW00571000
Nimike
UUSI NRO 4SV258021000
Hinta
75,25 €
Määrä
+
-
Nro
#18
Tuotenumero
3GM258031000
Nimike
CALIPER SEAL KIT
Hinta
25,60 €
Lisätiedot
Määrä
+
-
Korvaavat tuotteet
Nro
#
Tuotenumero
3GMW00471000
Nimike
KTS UUSI NRO 3GM258031000
Hinta
25,50 €
Määrä
+
-
Nro
#19
Tuotenumero
4SV258020000
Nimike
PISTON ASSY, CALIPER
Hinta
82,65 €
Lisätiedot
Määrä
+
-
Korvaavat tuotteet
Nro
#
Tuotenumero
4SVW00570000
Nimike
UUSI NRO 4SV258020000
Hinta
159,15 €
Määrä
+
-
Nro
#20
Tuotenumero
3MA258031000
Nimike
CALIPER SEAL KIT
Hinta
25,60 €
Lisätiedot
Määrä
+
-
Korvaavat tuotteet
Nro
#
Tuotenumero
3MAW00471000
Nimike
KTS UUSI NRO 3MA258031000
Hinta
25,50 €
Määrä
+
-
Nro
#21
Tuotenumero
5SL258050000
Nimike
BRAKE PAD KIT
Hinta
65,25 €
Määrä
+
-
Nro
#22
Tuotenumero
13S259190000
Nimike
SUPPORT, PAD
Hinta
18,85 €
Määrä
+
-
Nro
#23
Tuotenumero
4SV259240000
Nimike
PIN, PAD
Hinta
15,85 €
Määrä
+
-
Nro
#24
Tuotenumero
3GM259250000
Nimike
CLIP, PAD PIN
Hinta
8,70 €
Määrä
+
-
Nro
#25
Tuotenumero
1J3258240000
Nimike
SCREW, BLEED
Hinta
6,70 €
Määrä
+
-
Nro
#26
Tuotenumero
306258250100
Nimike
CAP
Hinta
5,25 €
Määrä
+
-
Nro
#27
Tuotenumero
901051044000
Nimike
901051044000
Hinta
0,00 €
Määrä
+
-