Kirjaudu
Kirjaudu sisään
Nakkilan pyörä ja mopo
Tuotekategoriat
Etusivu
Varaosaluettelot
Tarvikkeet
Varusteet
Tarjoukset
Ajoneuvot
Huolto
Yhteydenotto
Varaosa luettelot
Yamaha
900 cc
MT09 TRACER
MT09A TRACER GT+ 2024
Periodic maintenance parts
Sylinterikansi
Kampiakseli ja mäntä
Venttiilit
Nokka-akseli ja ketju
Vesipumppu
Jäähdytin ja letkut
Öljypumppu
Oil cleaner
Ilmanotto
Imupuoli
Pakoputkisto
Kampikammio
Moottorin kopat
Starter
Kytkin
Vaihteisto
Vaihderumpu ja haarukat
Vaihdeakseli
Runko
Lokasuoja
Side cover
Rear arm
Rear suspension
Ohjaus
Etuhaarukka
Fuel tank
Fuel tank 2
Istuin
Etupyörä
Etujarrusatula
Takapyörä
Takajarrusatula
Ohjaustanko ja vaijerit
Etujarrun pääsylinteri
Seisontatuki ja jalkatapit
Takajarrun pääsylinteri
Tuulilasi
Kate
Laturi
Starttimoottori
Vilkku
Mittaristo
Ajovalo
Takavalo
Ohjaustangon katkaisija ja vivut
Sähköjestelmä 1
Sähköjestelmä 2
Sähköjestelmä 3
Varaosat tuoteryhmittäin
Tarvikkeet
Tarjoukset
Varusteet
Ajoneuvot
NÄYTÄ TUOTEKATEGORIAT
NPM.FI
Varaosa luettelot
Yamaha
900 cc
MT09 TRACER
MT09A TRACER GT+ 2024
Sylinterikansi
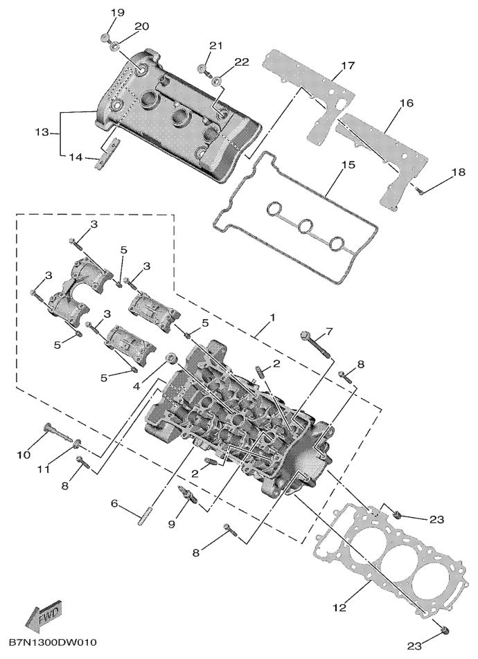
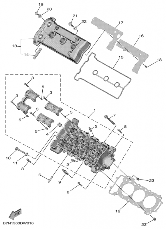
Sylinterikansi, MT09A TRACER GT+ 2024, MT09 TRACER, 900 cc, Yamaha -varaosa luettelot
Näytä suurempana
Nro
#1
Tuotenumero
B7N111010900
Nimike
B7N111010900
Hinta
0,00 €
Määrä
+
-
Nro
#2
Tuotenumero
2C0111331100
Nimike
2C0111331100
Hinta
0,00 €
Määrä
+
-
Nro
#3
Tuotenumero
901050602700
Nimike
BOLT WASHER BASED
Hinta
1,70 €
Määrä
+
-
Nro
#4
Tuotenumero
903401800200
Nimike
PLUG, STRAIGHT SCREW
Hinta
8,70 €
Määrä
+
-
Nro
#5
Tuotenumero
918081602300
Nimike
OHJAINHOLKKI
Hinta
1,80 €
Määrä
+
-
Nro
#6
Tuotenumero
956120862500
Nimike
BOLT, STUD
Hinta
2,50 €
Määrä
+
-
Nro
#7
Tuotenumero
901190901900
Nimike
901190901900
Hinta
0,00 €
Määrä
+
-
Nro
#8
Tuotenumero
90109061F700
Nimike
90109061F700
Hinta
0,00 €
Määrä
+
-
Nro
#9
Tuotenumero
947010044600
Nimike
PLUG, SPARK (NGK LMAR9A-9)
Hinta
19,60 €
Määrä
+
-
Nro
#10
Tuotenumero
901090629300
Nimike
BOLT
Hinta
18,90 €
Määrä
+
-
Nro
#11
Tuotenumero
5VY1111G0000
Nimike
RUBBER, MOUNT 1
Hinta
15,15 €
Määrä
+
-
Nro
#12
Tuotenumero
B7N111810000
Nimike
B7N111810000
Hinta
0,00 €
Määrä
+
-
Nro
#13
Tuotenumero
B7N111910000
Nimike
B7N111910000
Hinta
0,00 €
Määrä
+
-
Nro
#14
Tuotenumero
5BE122410100
Nimike
5BE122410100
Hinta
0,00 €
Määrä
+
-
Nro
#15
Tuotenumero
B7N111930000
Nimike
B7N111930000
Hinta
0,00 €
Määrä
+
-
Nro
#16
Tuotenumero
B7N111650000
Nimike
B7N111650000
Hinta
0,00 €
Määrä
+
-
Nro
#17
Tuotenumero
B7N111690000
Nimike
B7N111690000
Hinta
0,00 €
Määrä
+
-
Nro
#18
Tuotenumero
901490503700
Nimike
901490503700
Hinta
0,00 €
Määrä
+
-
Nro
#19
Tuotenumero
90109066F000
Nimike
BOLT
Hinta
4,15 €
Määrä
+
-
Nro
#20
Tuotenumero
5VY1111G0000
Nimike
RUBBER, MOUNT 1
Hinta
15,15 €
Määrä
+
-
Nro
#21
Tuotenumero
901090627100
Nimike
901090627100
Hinta
0,00 €
Määrä
+
-
Nro
#22
Tuotenumero
5VY1111G0000
Nimike
RUBBER, MOUNT 1
Hinta
15,15 €
Määrä
+
-
Nro
#23
Tuotenumero
995301201600
Nimike
PIN,DOWEL
Hinta
3,50 €
Määrä
+
-