Kirjaudu
Kirjaudu sisään
Nakkilan pyörä ja mopo
Tuotekategoriat
Etusivu
Varaosaluettelot
Tarvikkeet
Varusteet
Tarjoukset
Ajoneuvot
Huolto
Yhteydenotto
Varaosa luettelot
Yamaha
900 cc
MT09 TRACER
MT09A TRACER GT Y-AMT 2025
Periodic maintenance parts
Maintenance parts kit
Sylinterikansi
Kampiakseli ja mäntä
Venttiilit
Nokka-akseli ja ketju
Vesipumppu
Jäähdytin ja letkut
Öljypumppu
Oil cleaner
Ilmanotto
Imupuoli
Pakoputkisto
Kampikammio
Crankcase cover
Starter
Kytkin
Vaihteisto
Vaihderumpu ja haarukat
Vaihdeakseli
Runko
Lokasuoja
Side cover
Rear arm
Rear suspension
Ohjaus
Etuhaarukka
Fuel tank
Fuel tank 2
Fuel tank 3
Fuel tank 4
Istuin
Etupyörä
Etujarrusatula
Takapyörä
Takajarrusatula
Ohjaustanko ja vaijerit
Etujarrun pääsylinteri
Seisontatuki ja jalkatapit
Takajarrun pääsylinteri
Tuulilasi
Kate
Laturi
Starttimoottori
Vilkku
Mittaristo
Ajovalo
Takavalo
Ohjaustangon katkaisija ja vivut
Sähköjestelmä 1
Sähköjestelmä 2
Sähköjestelmä 3
Electrical 4
Varaosat tuoteryhmittäin
Tarvikkeet
Tarjoukset
Varusteet
Ajoneuvot
NÄYTÄ TUOTEKATEGORIAT
NPM.FI
Varaosa luettelot
Yamaha
900 cc
MT09 TRACER
MT09A TRACER GT Y-AMT 2025
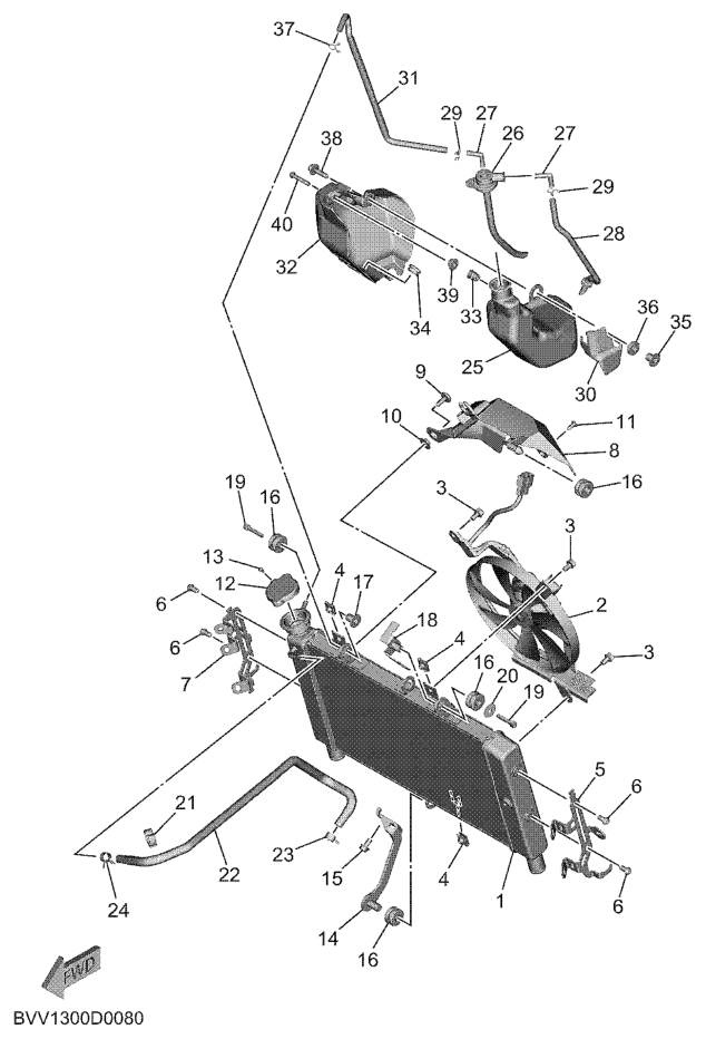
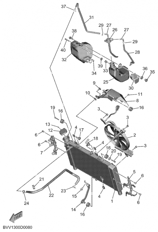
Jäähdytin ja letkut
Jäähdytin ja letkut, MT09A TRACER GT Y-AMT 2025, MT09 TRACER, 900 cc, Yamaha -varaosa luettelot
Näytä suurempana
Nro
#1
Tuotenumero
BME124610000
Nimike
BME124610000
Hinta
0,00 €
Määrä
+
-
Nro
#2
Tuotenumero
BME124050100
Nimike
BME124050100
Hinta
0,00 €
Määrä
+
-
Nro
#3
Tuotenumero
5GJ126750000
Nimike
BOLT, BLOWER HOLDING
Hinta
3,60 €
Määrä
+
-
Nro
#4
Tuotenumero
5YPE26710000
Nimike
. NUT 1
Hinta
1,85 €
Määrä
+
-
Nro
#5
Tuotenumero
BRN1244E0000
Nimike
BRN1244E0000
Hinta
0,00 €
Määrä
+
-
Nro
#6
Tuotenumero
901110610200
Nimike
901110610200
Hinta
0,00 €
Määrä
+
-
Nro
#7
Tuotenumero
BRN1244F0000
Nimike
BRN1244F0000
Hinta
0,00 €
Määrä
+
-
Nro
#8
Tuotenumero
B7N124670000
Nimike
B7N124670000
Hinta
0,00 €
Määrä
+
-
Nro
#9
Tuotenumero
901110616100
Nimike
901110616100
Hinta
0,00 €
Määrä
+
-
Nro
#10
Tuotenumero
903870771700
Nimike
COLLAR
Hinta
5,35 €
Määrä
+
-
Nro
#11
Tuotenumero
902690500500
Nimike
RIVET
Hinta
1,75 €
Määrä
+
-
Nro
#12
Tuotenumero
B5Y124620000
Nimike
B5Y124620000
Hinta
0,00 €
Määrä
+
-
Nro
#13
Tuotenumero
913170300600
Nimike
BOLT
Hinta
0,70 €
Määrä
+
-
Nro
#14
Tuotenumero
B7N126380100
Nimike
B7N126380100
Hinta
0,00 €
Määrä
+
-
Nro
#15
Tuotenumero
95D320601200
Nimike
95D320601200
Hinta
0,00 €
Määrä
+
-
Nro
#16
Tuotenumero
904801536300
Nimike
GROMMET2
Hinta
5,35 €
Määrä
+
-
Nro
#17
Tuotenumero
903870615800
Nimike
COLLAR 322215440000
Hinta
5,30 €
Määrä
+
-
Nro
#18
Tuotenumero
BVV261320000
Nimike
BVV261320000
Hinta
0,00 €
Määrä
+
-
Nro
#19
Tuotenumero
913420603000
Nimike
913420603000
Hinta
0,00 €
Määrä
+
-
Nro
#20
Tuotenumero
902010603300
Nimike
WASHER, PLATE
Hinta
0,70 €
Määrä
+
-
Nro
#21
Tuotenumero
904641600300
Nimike
904641600300
Hinta
0,00 €
Määrä
+
-
Nro
#22
Tuotenumero
B7N1243A0000
Nimike
B7N1243A0000
Hinta
0,00 €
Määrä
+
-
Nro
#23
Tuotenumero
904671003900
Nimike
CLIP2
Hinta
2,85 €
Määrä
+
-
Nro
#24
Tuotenumero
904671003900
Nimike
CLIP2
Hinta
2,85 €
Määrä
+
-
Nro
#25
Tuotenumero
1RC218710000
Nimike
1RC218710000
Hinta
0,00 €
Määrä
+
-
Nro
#26
Tuotenumero
B7N218750000
Nimike
B7N218750000
Hinta
0,00 €
Määrä
+
-
Nro
#27
Tuotenumero
1RC218280000
Nimike
1RC218280000
Hinta
0,00 €
Määrä
+
-
Nro
#28
Tuotenumero
B7N218260000
Nimike
B7N218260000
Hinta
0,00 €
Määrä
+
-
Nro
#29
Tuotenumero
904670807500
Nimike
UUSI NRO 904670802100
Hinta
3,70 €
Lisätiedot
Määrä
+
-
Korvaavat tuotteet
Nro
#
Tuotenumero
904670802100
Nimike
CLIP (16G)
Hinta
3,70 €
Määrä
+
-
Nro
#30
Tuotenumero
B7N228250000
Nimike
B7N228250000
Hinta
0,00 €
Määrä
+
-
Nro
#31
Tuotenumero
B7N218160000
Nimike
B7N218160000
Hinta
0,00 €
Määrä
+
-
Nro
#32
Tuotenumero
1RC2172W0000
Nimike
1RC2172W0000
Hinta
0,00 €
Määrä
+
-
Nro
#33
Tuotenumero
901790552300
Nimike
NUT
Hinta
9,80 €
Määrä
+
-
Nro
#34
Tuotenumero
904801320300
Nimike
904801320300
Hinta
0,00 €
Määrä
+
-
Nro
#35
Tuotenumero
903870628500
Nimike
903870628500
Hinta
0,00 €
Määrä
+
-
Nro
#36
Tuotenumero
1RC217490000
Nimike
1RC217490000
Hinta
0,00 €
Määrä
+
-
Nro
#37
Tuotenumero
904670807500
Nimike
UUSI NRO 904670802100
Hinta
3,70 €
Lisätiedot
Määrä
+
-
Korvaavat tuotteet
Nro
#
Tuotenumero
904670802100
Nimike
CLIP (16G)
Hinta
3,70 €
Määrä
+
-
Nro
#38
Tuotenumero
901100643400
Nimike
901100643400
Hinta
0,00 €
Määrä
+
-
Nro
#39
Tuotenumero
1RC217480000
Nimike
1RC217480000
Hinta
0,00 €
Määrä
+
-
Nro
#40
Tuotenumero
920120503000
Nimike
BOLT, BUTTON HEAD
Hinta
1,05 €
Määrä
+
-