Kirjaudu
Kirjaudu sisään
Nakkilan pyörä ja mopo
Tuotekategoriat
Etusivu
Varaosaluettelot
Tarvikkeet
Varusteet
Tarjoukset
Ajoneuvot
Huolto
Yhteydenotto
Varaosa luettelot
Yamaha
1300 cc
FJR1300
FJR1300AE 2020
Sylinteri
Kampiakseli ja mäntä
Venttiilit
Nokka-akseli ja ketju
Vesipumppu
Jäähdytin ja letkut
Öljypumppu
Oil cooler
Ilmanotto
Imupuoli
Air induction system
Pakoputkisto
Kampikammio
Moottorin kopat
Starter
Kytkin
Vaihteisto
Välitysratas
Vaihderumpu ja haarukat
Vaihdeakseli
Runko
Lokasuoja
Side cover
Rear arm
Vetoakseli
Rear suspension
Ohjaus
Etuhaarukka
Fuel tank
Istuin
Etupyörä
Etujarrusatula
Takapyörä
Takajarrusatula
Ohjaustanko ja vaijerit
Etujarrun pääsylinteri
Kytkimen pääsylinteri
Seisontatuki ja jalkatapit
Takajarrun pääsylinteri
Cowling 1
Cowling 2
Laturi
Starttimoottori
Mittaristo
Ajovalo
Takavalo
Sähköjestelmä 1
Sähköjestelmä 2
Sähköjestelmä 3
Varaosat tuoteryhmittäin
Tarvikkeet
Tarjoukset
Varusteet
Ajoneuvot
NÄYTÄ TUOTEKATEGORIAT
NPM.FI
Varaosa luettelot
Yamaha
1300 cc
FJR1300
FJR1300AE 2020
Kytkimen pääsylinteri
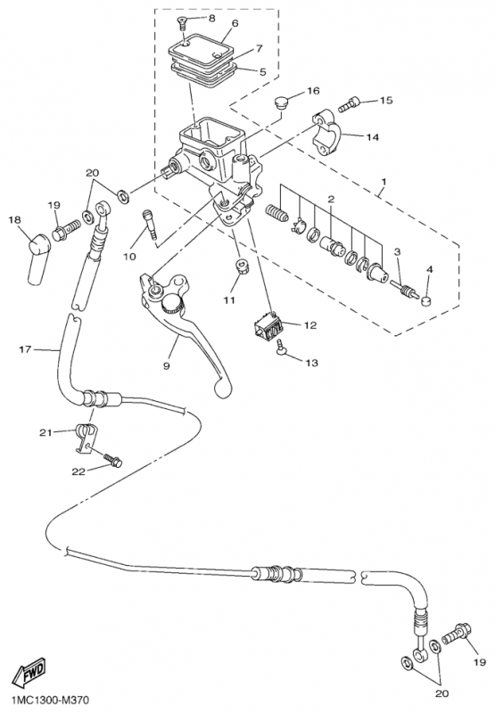
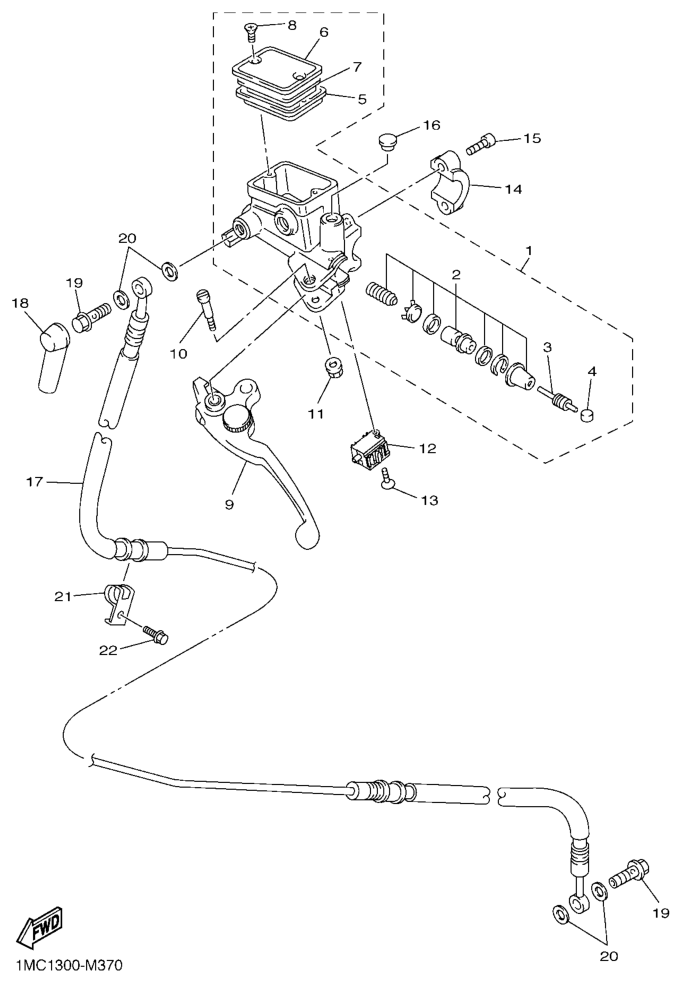
Kytkimen pääsylinteri, FJR1300AE 2020, FJR1300, 1300 cc, Yamaha -varaosa luettelot
Näytä suurempana
Nro
#1
Tuotenumero
5JW264010100
Nimike
5JW264010100
Hinta
0,00 €
Määrä
+
-
Nro
#2
Tuotenumero
5JW264020000
Nimike
5JW264020000
Hinta
0,00 €
Määrä
+
-
Nro
#3
Tuotenumero
3GM264640000
Nimike
ROD, PUSH
Hinta
15,65 €
Määrä
+
-
Nro
#4
Tuotenumero
3GM264550000
Nimike
BUSH
Hinta
11,25 €
Määrä
+
-
Nro
#5
Tuotenumero
4HM258540000
Nimike
DIAPHRAGM, RESERVOIR
Hinta
26,00 €
Määrä
+
-
Nro
#6
Tuotenumero
4HM258520100
Nimike
CAP, RESERVOIR
Hinta
39,25 €
Määrä
+
-
Nro
#7
Tuotenumero
3GM2585B1000
Nimike
PLATE, DIAPHRAGM
Hinta
15,65 €
Määrä
+
-
Nro
#8
Tuotenumero
987070401200
Nimike
SCREW,FLAT
Hinta
1,50 €
Määrä
+
-
Nro
#9
Tuotenumero
5EA839121000
Nimike
5EA839121000
Hinta
0,00 €
Määrä
+
-
Nro
#10
Tuotenumero
3FV2589F0000
Nimike
BOLT, LEVER
Hinta
3,65 €
Määrä
+
-
Nro
#11
Tuotenumero
957070650000
Nimike
NUT, FLANGE(4MV)
Hinta
5,45 €
Määrä
+
-
Nro
#12
Tuotenumero
1MC829170100
Nimike
1MC829170100
Hinta
0,00 €
Määrä
+
-
Nro
#13
Tuotenumero
901590401100
Nimike
901590401100
Hinta
0,00 €
Määrä
+
-
Nro
#14
Tuotenumero
4KG258670000
Nimike
BRACKET, MASTER CYLINDER
Hinta
19,45 €
Määrä
+
-
Nro
#15
Tuotenumero
913160602000
Nimike
UUSI NRO 913170602000
Hinta
2,15 €
Lisätiedot
Määrä
+
-
Korvaavat tuotteet
Nro
#
Tuotenumero
913170602000
Nimike
BOLT
Hinta
0,70 €
Määrä
+
-
Nro
#16
Tuotenumero
903380901200
Nimike
PLUG
Hinta
4,60 €
Määrä
+
-
Nro
#17
Tuotenumero
2PD264700000
Nimike
2PD264700000
Hinta
0,00 €
Määrä
+
-
Nro
#18
Tuotenumero
4L0258620100
Nimike
BOOT, MASTER CYLINDER
Hinta
3,10 €
Lisätiedot
Määrä
+
-
Korvaavat tuotteet
Nro
#
Tuotenumero
4L0258620000
Nimike
UUSI NRO 4L0258620100
Hinta
3,10 €
Määrä
+
-
Nro
#19
Tuotenumero
904011002000
Nimike
BOLT, UNION
Hinta
4,55 €
Määrä
+
-
Nro
#20
Tuotenumero
902011011800
Nimike
KTS UUSI NRO 90201108J900
Hinta
2,85 €
Lisätiedot
Määrä
+
-
Korvaavat tuotteet
Nro
#
Tuotenumero
90201108J900
Nimike
WASHER, PLATE
Hinta
2,85 €
Määrä
+
-
Nro
#21
Tuotenumero
1MC218230000
Nimike
1MC218230000
Hinta
0,00 €
Määrä
+
-
Nro
#22
Tuotenumero
950220601000
Nimike
BOLT, FLANGE
Hinta
0,70 €
Määrä
+
-