Kirjaudu
Kirjaudu sisään
Nakkilan pyörä ja mopo
Tuotekategoriat
Etusivu
Varaosaluettelot
Tarvikkeet
Varusteet
Tarjoukset
Ajoneuvot
Huolto
Yhteydenotto
Varaosa luettelot
Yamaha
900 cc
MT09
MT09 STREET RALLY 2015
Sylinterikansi
Kampiakseli ja mäntä
Venttiilit
Nokka-akseli ja ketju
Vesipumppu
Jäähdytin ja letkut
Öljypumppu
Oil cleaner
Ilmanotto
Imupuoli
Air induction system
Pakoputkisto
Kampikammio
Moottorin kopat
Starter
Kytkin
Vaihteisto
Vaihderumpu ja haarukat
Vaihdeakseli
Runko
Lokasuoja
Side cover
Rear arm
Rear suspension
Ohjaus
Etuhaarukka
Fuel tank
Istuin
Etupyörä
Etujarrusatula
Takapyörä
Takajarrusatula
Ohjaustanko ja vaijerit
Etujarrun pääsylinteri
Seisontatuki ja jalkatapit
Takajarrun pääsylinteri
Laturi
Starttimoottori
Vilkku
Mittaristo
Ajovalo
Takavalo
Ohjaustangon katkaisija ja vivut
Sähköjestelmä 1
Sähköjestelmä 2
Varaosat tuoteryhmittäin
Tarvikkeet
Tarjoukset
Varusteet
Ajoneuvot
NÄYTÄ TUOTEKATEGORIAT
NPM.FI
Varaosa luettelot
Yamaha
900 cc
MT09
MT09 STREET RALLY 2015
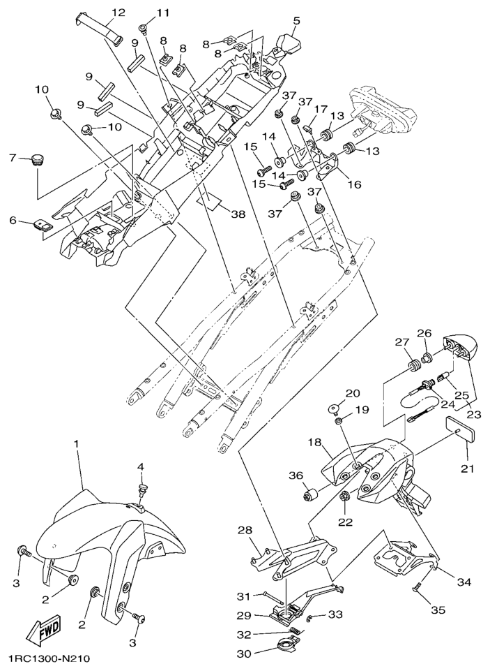
Lokasuoja
Lokasuoja, MT09 STREET RALLY 2015, MT09, 900 cc, Yamaha -varaosa luettelot
Näytä suurempana
Nro
#1
Tuotenumero
1RC2151100P0
Nimike
1RC2151100P0
Hinta
0,00 €
Määrä
+
-
Nro
#2
Tuotenumero
903870615300
Nimike
COLLAR
Hinta
2,85 €
Määrä
+
-
Nro
#3
Tuotenumero
901100620000
Nimike
BOLT, HEXAGON SOCKET HEAD(3HE)
Hinta
3,45 €
Määrä
+
-
Nro
#4
Tuotenumero
9048006M1900
Nimike
9048006M1900
Hinta
0,00 €
Määrä
+
-
Nro
#5
Tuotenumero
1RC8212B0000
Nimike
1RC8212B0000
Hinta
0,00 €
Määrä
+
-
Nro
#6
Tuotenumero
1RC261990000
Nimike
1RC261990000
Hinta
0,00 €
Määrä
+
-
Nro
#7
Tuotenumero
904801410000
Nimike
GROMMET 285216390000
Hinta
3,10 €
Määrä
+
-
Nro
#8
Tuotenumero
901830606900
Nimike
NUT, SPRING
Hinta
2,55 €
Määrä
+
-
Nro
#9
Tuotenumero
5PS283720000
Nimike
5PS283720000
Hinta
0,00 €
Määrä
+
-
Nro
#10
Tuotenumero
901090620200
Nimike
BOLT
Hinta
1,75 €
Määrä
+
-
Nro
#11
Tuotenumero
902690700700
Nimike
RIVET
Hinta
1,75 €
Määrä
+
-
Nro
#12
Tuotenumero
1RC821370000
Nimike
1RC821370000
Hinta
0,00 €
Määrä
+
-
Nro
#13
Tuotenumero
904801405200
Nimike
GROMMET (431)
Hinta
5,30 €
Määrä
+
-
Nro
#14
Tuotenumero
903870628800
Nimike
903870628800
Hinta
0,00 €
Määrä
+
-
Nro
#15
Tuotenumero
920120602000
Nimike
BOLT, BUTTON HEAD
Hinta
1,05 €
Määrä
+
-
Nro
#16
Tuotenumero
1RC2117E0000
Nimike
1RC2117E0000
Hinta
0,00 €
Määrä
+
-
Nro
#17
Tuotenumero
682445320000
Nimike
STOPPER
Hinta
7,20 €
Määrä
+
-
Nro
#18
Tuotenumero
1RC216290100
Nimike
1RC216290100
Hinta
0,00 €
Määrä
+
-
Nro
#19
Tuotenumero
903870637200
Nimike
COLLAR
Hinta
1,35 €
Määrä
+
-
Nro
#20
Tuotenumero
901110606100
Nimike
BOLT,HEX SOCKET BUTTON
Hinta
1,55 €
Määrä
+
-
Nro
#22
Tuotenumero
956020520000
Nimike
UUSI NRO 956070520000
Hinta
3,10 €
Määrä
+
-
Nro
#23
Tuotenumero
1RC847400000
Nimike
1RC847400000
Hinta
0,00 €
Määrä
+
-
Nro
#24
Tuotenumero
1RC845470000
Nimike
1RC845470000
Hinta
0,00 €
Määrä
+
-
Nro
#25
Tuotenumero
1TP843470000
Nimike
KTS UUSI NRO 1WDH43470000
Hinta
1,65 €
Määrä
+
-
Nro
#26
Tuotenumero
903870504200
Nimike
COLLAR
Hinta
4,55 €
Määrä
+
-
Nro
#27
Tuotenumero
904801100900
Nimike
GROMMET
Hinta
4,70 €
Määrä
+
-
Nro
#28
Tuotenumero
1RC2164F0000
Nimike
1RC2164F0000
Hinta
0,00 €
Määrä
+
-
Nro
#29
Tuotenumero
1RC2163E0000
Nimike
1RC2163E0000
Hinta
0,00 €
Määrä
+
-
Nro
#30
Tuotenumero
1RC2465B0000
Nimike
1RC2465B0000
Hinta
0,00 €
Määrä
+
-
Nro
#31
Tuotenumero
902490300200
Nimike
902490300200
Hinta
0,00 €
Määrä
+
-
Nro
#32
Tuotenumero
905080900700
Nimike
905080900700
Hinta
0,00 €
Määrä
+
-
Nro
#33
Tuotenumero
934300200100
Nimike
CIRCLIP (604)
Hinta
0,70 €
Määrä
+
-
Nro
#34
Tuotenumero
1RC216820000
Nimike
1RC216820000
Hinta
0,00 €
Määrä
+
-
Nro
#35
Tuotenumero
901600501200
Nimike
SCREW, ROUND TAPPING
Hinta
1,05 €
Määrä
+
-
Nro
#36
Tuotenumero
1RC2622H0000
Nimike
1RC2622H0000
Hinta
0,00 €
Määrä
+
-
Nro
#37
Tuotenumero
956020620000
Nimike
UUSI NRO 956040620000
Hinta
1,80 €
Lisätiedot
Määrä
+
-
Korvaavat tuotteet
Nro
#
Tuotenumero
956040620000
Nimike
NUT, U FLANGE
Hinta
1,80 €
Määrä
+
-
Nro
#38
Tuotenumero
14B216680000
Nimike
LABEL, TIRE
Hinta
2,55 €
Määrä
+
-